EasyManua.ls Logo

Emotron VS10 - Save Parameter Settings with Keypad

Emotron VS10
528 pages
Print Icon
To Next Page IconTo Next Page
To Next Page IconTo Next Page
To Previous Page IconTo Previous Page
To Previous Page IconTo Previous Page
Loading...
476 01-6203-01R3, CG Drives & Automation
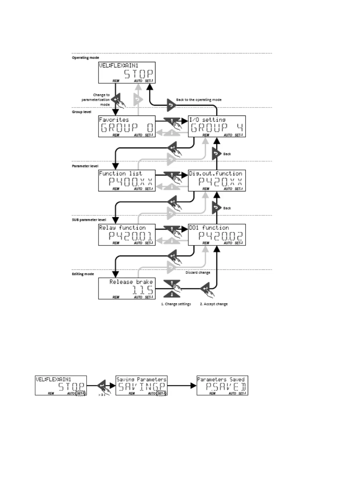
Changing inverter settings by means of the keypad (general operation)
14.1.2.3. Save parameter settings with keypad
If one parameter setting has been changed with the keypad but has not been saved in the
memory module with mains failure protection, the SET display is blinking.
In order to save parameter settings in the user memory of the memory module, press the
keypad enter key longer than 3 s.

Table of Contents

Other manuals for Emotron VS10

Related product manuals