EasyManua.ls Logo

Toyota 22R-E - Page 584

Toyota 22R-E
625 pages
Print Icon
To Next Page IconTo Next Page
To Next Page IconTo Next Page
To Previous Page IconTo Previous Page
To Previous Page IconTo Previous Page
Loading...
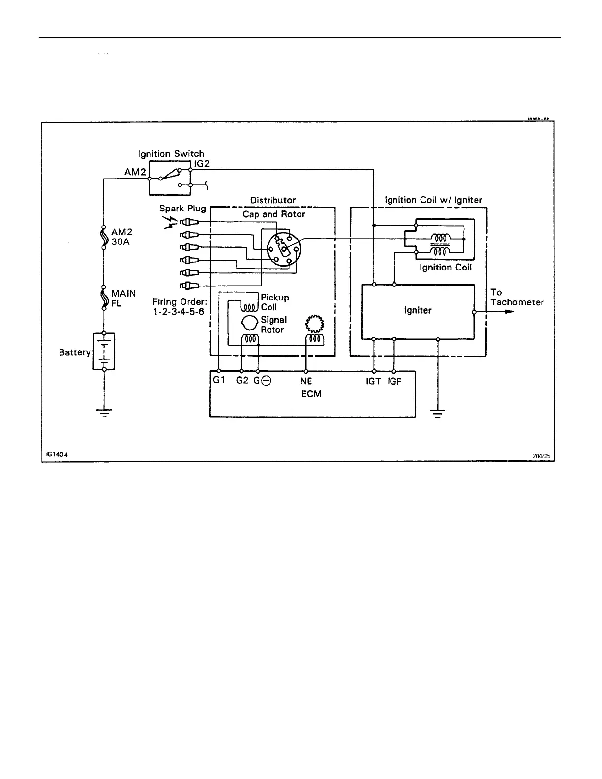
OPERATION
To maintain the most appropriate ignition timing, the ECM sends a control signal so that the
igniter sends current to the ignition coil and the spark plugs produce a spark.
SYSTEM CIRCUIT
IGNITION SYSTEM (3VZ– E)
IG–16

Table of Contents