EasyManua.ls Logo

Emotron VS10 - Page 153

Emotron VS10
528 pages
Print Icon
To Next Page IconTo Next Page
To Next Page IconTo Next Page
To Previous Page IconTo Previous Page
To Previous Page IconTo Previous Page
Loading...
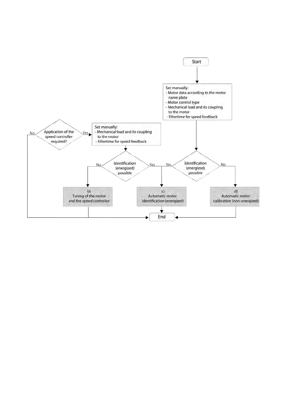
Performing optimisation with engineering tool
The following flow diagram shows the optimisation process with an engineering tool (e. g.
»Emotron Easy starter«):
No matter which option suits you best, first the relevant motor data must be set.
If you already have an optimised system, but the load adjustment has changed, it
makes sense to just re-initialise the speed controller.
Tuning of the motor and the
speed controller
138
If the application enables you to energise the system during the optimisation
procedure, carry out an automatic identification. This procedure results in the best
possible parameter settings. Automatic motor identification (energized)
139
If the application does not enable you to energise the system during the optimisation
procedure, carry out an automatic calibration.
Automatic motor calibration (non-
energized)
140

Table of Contents

Other manuals for Emotron VS10

Related product manuals