EasyManua.ls Logo

HAIMA 7 - Page 207

HAIMA 7
654 pages
Print Icon
To Next Page IconTo Next Page
To Next Page IconTo Next Page
To Previous Page IconTo Previous Page
To Previous Page IconTo Previous Page
Loading...
General Precautions of EFI System Maintenance
F-71
Malfunction Diagnostic Guide:
Required Equipment: (Diagnostic Instrument with EOBD Diagnostic Function, Digital Multimeter, and
Correct Circuit Diagram)
Step I: Use diagnostic instrument to read the malfunction information
Read Result I Read Result II
MIL Lamp On P-CODE Present MIL Lamp Off P-CODE Present
P0628
P0628
Maintenance tips:
The malfunction has been confirmed, and the
following problems may possibly exist
1) The circuit connected to Pin 70# of ECU short
to ground
Maintenance tips:
The malfunction is not ultimately confirmed and it
may possibly be a random malfunction. Inspect the
following items:
1) Measure whether or not the electric resistance
for Pin 70# of ECU to ground is under normal
condition
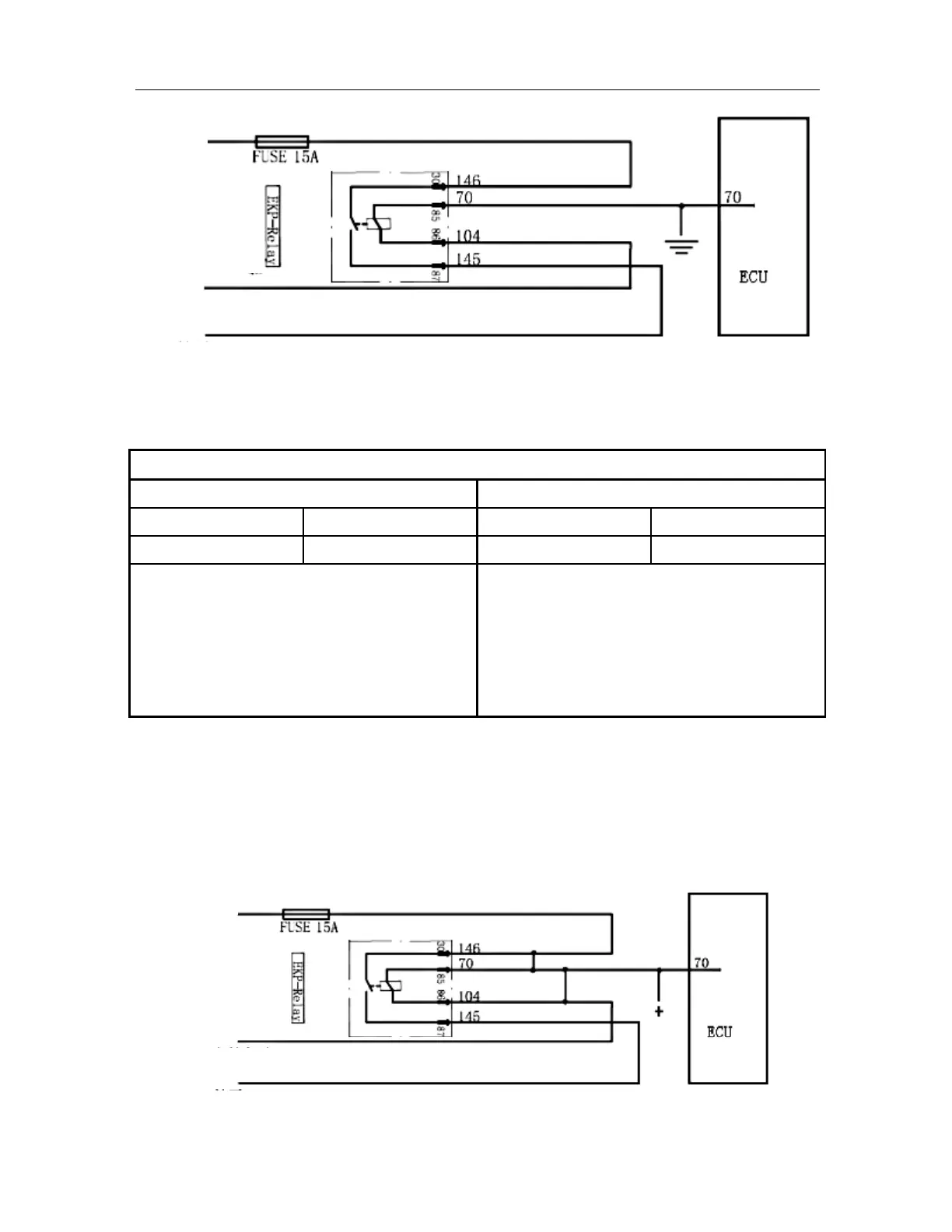
91. P0629 Oil Pump Relay Control Circuit Short to Power Supply
Description about Malfunction Cause:
After engine has been started, the voltage of fuel pump relay circuit is to be measured by the circuit control
module inside ECU, and when the voltage complies with the voltage in the mode of short to power supply, it
is determined to be fuel pump relay circuit short to power supply.
Schematic Circuit:
Battery
Main relay
Fuel Pump Relay
Fuel Pump
Battery
Main relay
Fuel Pump Relay
Fuel Pump

Table of Contents

Related product manuals