EasyManua.ls Logo

NEC NEAX 7400 IMX - Page 308

NEC NEAX 7400 IMX
857 pages
To Next Page IconTo Next Page
To Next Page IconTo Next Page
To Previous Page IconTo Previous Page
To Previous Page IconTo Previous Page
Loading...
ND-70348 (E) CHAPTER 4
Page 303
Revision 3.0
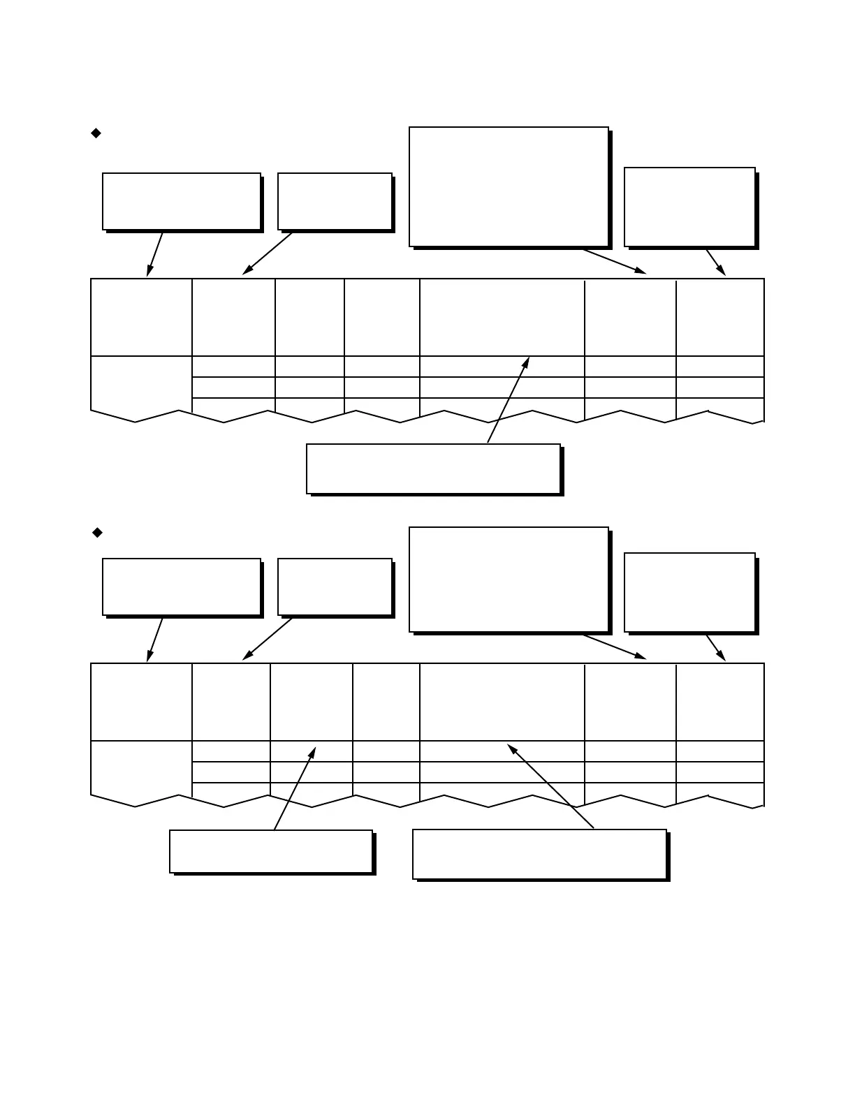
ATDPN
3. Data Entry Instructions
Tandem Switching
TANDEM/
OUTGOING
CONNECTION
(TDM/OG)
DAY/NIGHT
MODE
(DAY/NIGHT)
INCOMING
LOGICAL
ROUTE
NUMBER
(ICLGRT)
1-899
OUTGOING
LOGICAL
ROUTE
NUMBER
(OGLGRT)
1-899
RESTRICTION
CLASS
(RSC)
0-15
OUTGOING
LOGICAL
ROUTE
NUMBER
(OGLGRT)
1-899
DESTINATION (AREA) CODE
(DC)
MAX. 11 DIGITS
NECESSARY
DIGIT
(NND)
1-12
RESTRICTION
DATA
(TDI)
0-3
T = Tandem Connection
O = Outgoing Connection
TDM/OG
DAY/NIGHT
D = Day Mode
N = Night Mode
TDI
Restriction Data
0 = Connection is Restricted
1 = Connection is Allowed
2 = 3/6 Digit Toll Restriction
3 = C.O. Operator Call (9+0)
When assigning DC, the digits including
the access code must be assigned.
NND
This parameter is
available only when
TDI=2
NND
This parameter is
available only when
TDI=2
T
TANDEM/
OUTGOING
CONNECTION
(TDM/OG)
DAY/NIGHT
MODE
(DAY/NIGHT)
DESTINATION (AREA) CODE
(DC)
MAX. 11 DIGITS
NECESSARY
DIGIT
(NND)
1-12
RESTRICTION
DATA
(TDI)
0-3
O
Outgoing Connection
T = Tandem Connection
O = Outgoing Connection
TDM/OG
DAY/NIGHT
D = Day Mode
N = Night Mode
TDI
0 = Connection is Restricted
1 = Connection is Allowed
2 = 3/6 Digit Toll Restriction
3 = C.O. Operator Call (9+0)
When assigning DC, the digits including
the access code must be assigned.
Refer to the ARSCN command.

Table of Contents

Related product manuals