EasyManua.ls Logo

Siemens SINUMERIK Series - Page 128

Siemens SINUMERIK Series
956 pages
Print Icon
To Next Page IconTo Next Page
To Next Page IconTo Next Page
To Previous Page IconTo Previous Page
To Previous Page IconTo Previous Page
Loading...
B3: Distributed systems - 840D sl only
2.3 Examples
Extended Functions
128 Function Manual, 03/2013, 6FC5397-1BP40-3BA1
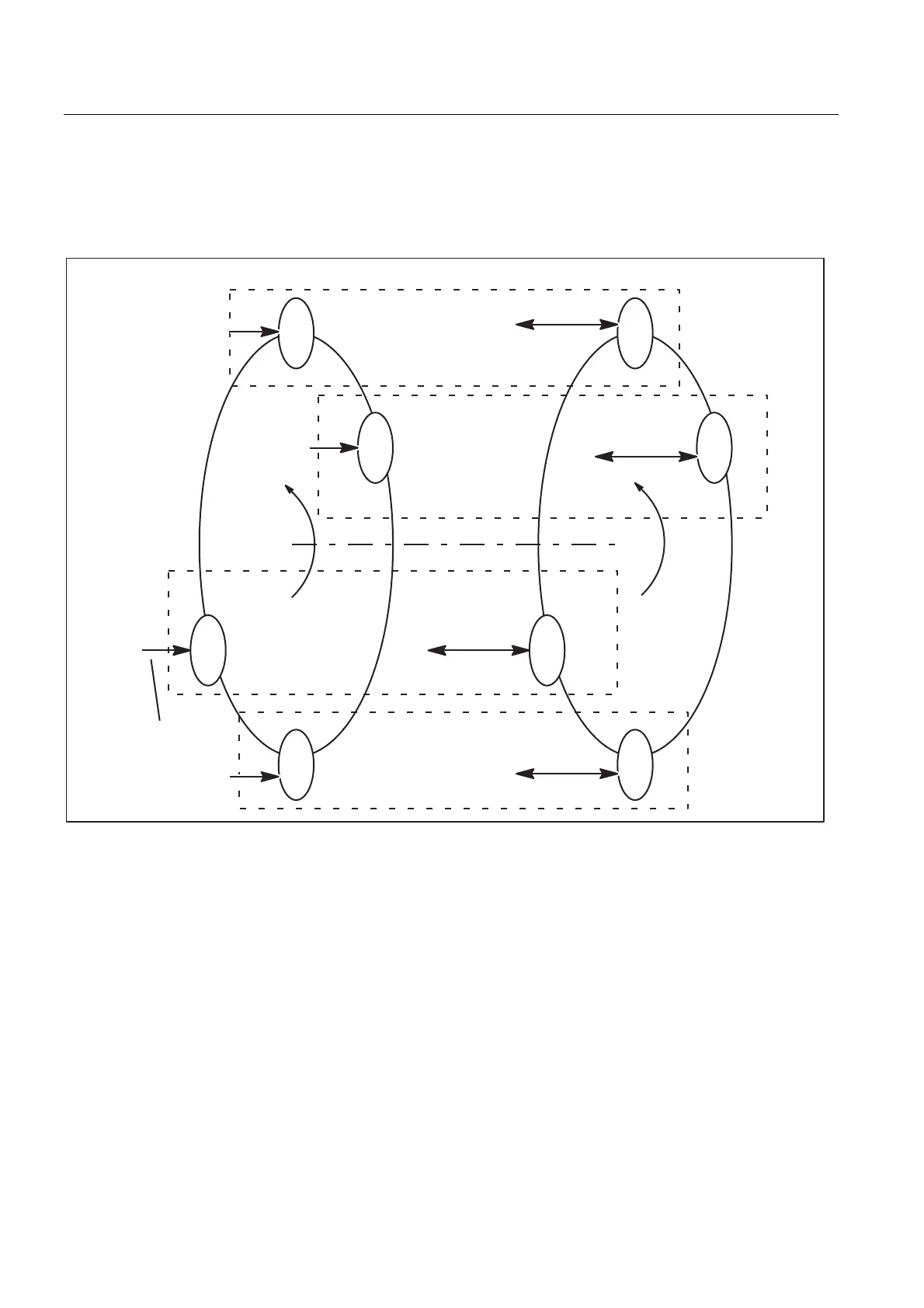
Axis container
With rotation of drums A/B, HS
i
, GS
i
, ZG
i
and STN
i
must be assigned to another NCU and
must therefore be configured as link axes in axis containers.
75+
759
671
671
671
671
1&8G
1&8F
1&8E
3RVLWLRQG
3RVLWLRQF
3RVLWLRQE
3DUWWUDQVIHU
=*
3DUWWUDQVIHU
=*
3DUWWUDQVIHU
=*
1&8D
3DUWWUDQVIHU
3RVLWLRQD
=*
*6
*6
*6
*6
+6
+6
+6
+6
%DUIHHG
%DFNSODQHPDFKLQLQJ'UXP+)URQWSODQHPDFKLQLQJ'UXP9
Figure 2-21 Schematic diagram of main spindles HSi, countersp. GSi, bar feed axis STNi and transfer axes ZGi

Table of Contents

Other manuals for Siemens SINUMERIK Series

Related product manuals