EasyManua.ls Logo

Dodge Sprinter 2006 - Page 1551

Dodge Sprinter 2006
2315 pages
Print Icon
To Next Page IconTo Next Page
To Next Page IconTo Next Page
To Previous Page IconTo Previous Page
To Previous Page IconTo Previous Page
Loading...
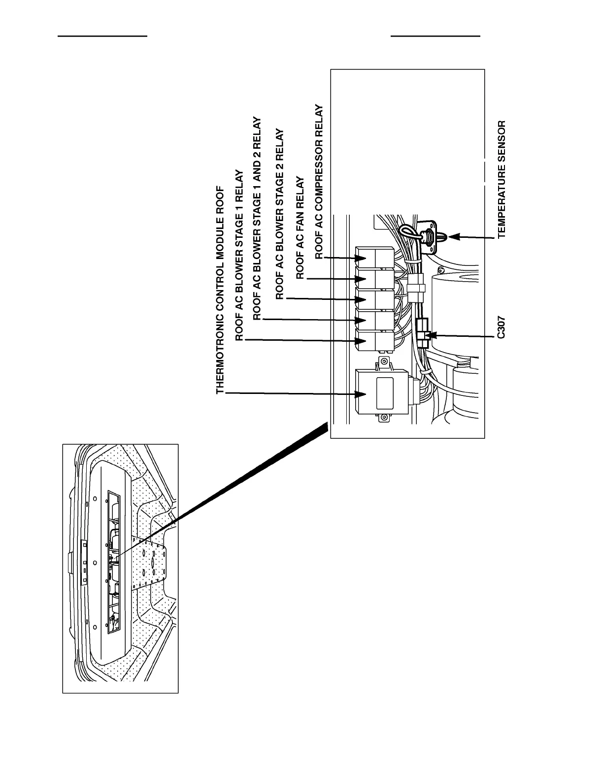
Fig. 40 ROOF A/C RELAYS AND MODULE
VA 8W-91 CONNECTOR/GROUND/SPLICE LOCATION 8W - 91 - 53

Table of Contents

Related product manuals