EasyManua.ls Logo

KIP 700m - 065 Drum Reverse Time

KIP 700m
679 pages
Print Icon
To Next Page IconTo Next Page
To Next Page IconTo Next Page
To Previous Page IconTo Previous Page
To Previous Page IconTo Previous Page
Loading...
K117sm8e6
8-63
065 Drum Reverse Time
It is possible to change the period for the Drum reverse rotation.
Developer Roller is strongly pressed to the Drum and that may cause an indentation on Developer
Roller’s surface. The indentation may result in defective imaging.
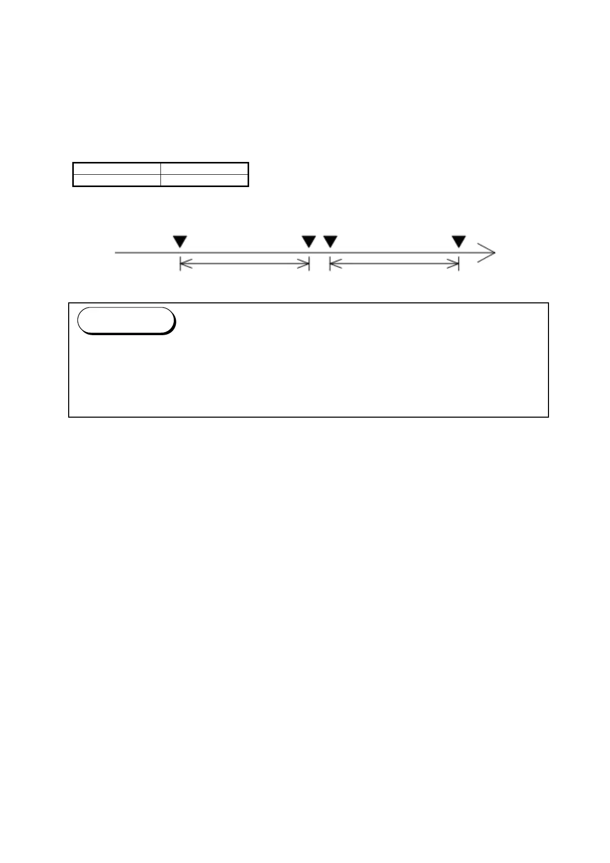
The Drum makes a reverse rotation in a given period twice after finishing a job.
Setting a bigger value for No.065 makes the reverse rotation period longer.
Setting Range Step of increment
10 to 100 1 millisecond
Print process end
Drum reverse rotation starts stops / starts again stops
Value for No.065 (ms) Value for No.065 (ms)
(1) Drum reverse rotations may produce a slight amount of toner sticking on Drum’s surface.
This causes a black line about 50mm below the leading edge on a print.
Setting a smaller value will reduce such a line.
(2) Setting an extremely small value may cause an indentation on Developer Roller.
Reference

Table of Contents

Other manuals for KIP 700m

Related product manuals