EasyManua.ls Logo

Dodge Sprinter 2006 - Page 1848

Dodge Sprinter 2006
2315 pages
Print Icon
To Next Page IconTo Next Page
To Next Page IconTo Next Page
To Previous Page IconTo Previous Page
To Previous Page IconTo Previous Page
Loading...
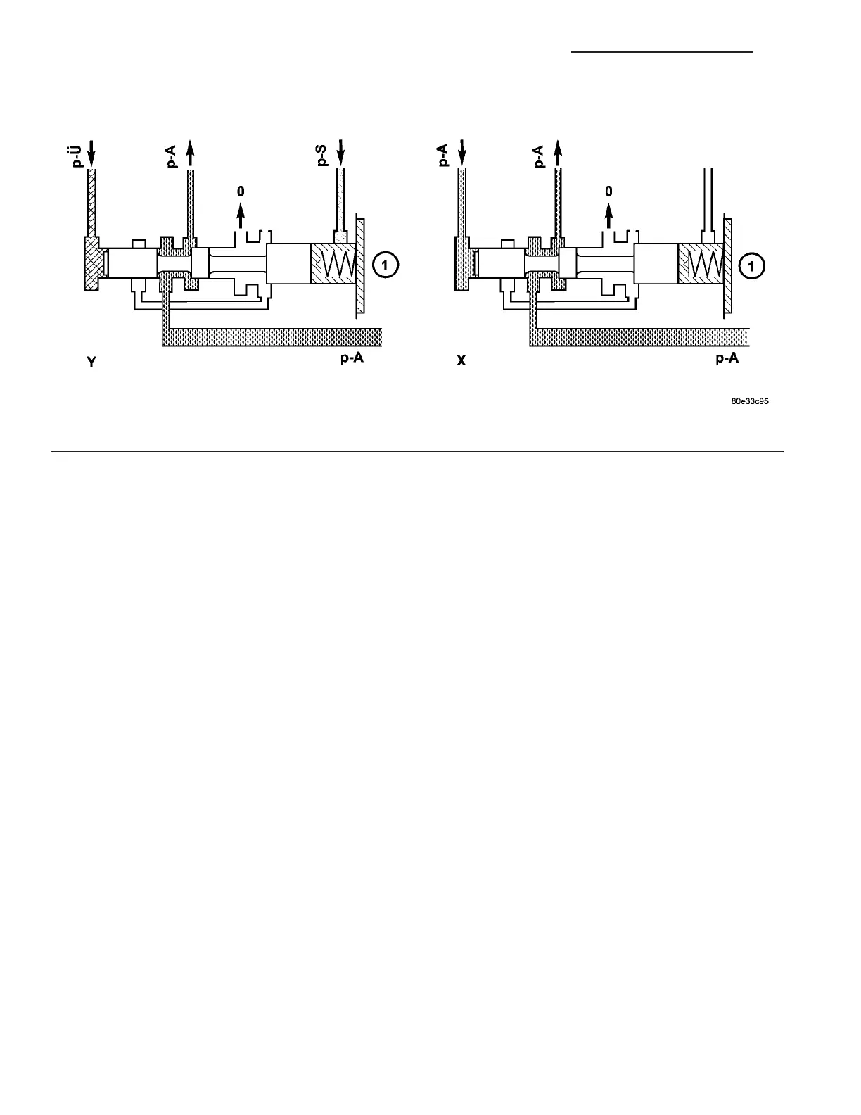
Holding Pressure Shift Valve
Each shift group possesses on e holding pr essu re
sh ift valve (1) (Fig. 105). Th e 1-2 / 4-5 and 2-3 h old-
ing pressure sh ift valves ar e insta lled in t he shift
valve housing; t he 3-4 holding pressure shift va lve is
insta lled in the valve h ousing. Th e holding pressure
sh ift valve allocat es t he workin g pressur e to one
actuator of a shift grou p.
Fig. 105 Holding Pressure Shift Valve
1 - HOLDING PRESSURE SHIFT VALVE
21 - 110 AUTOMATIC TRANSMISSION NAG1 - SERVICE INFORMATION VA

Table of Contents

Related product manuals