EasyManua.ls Logo

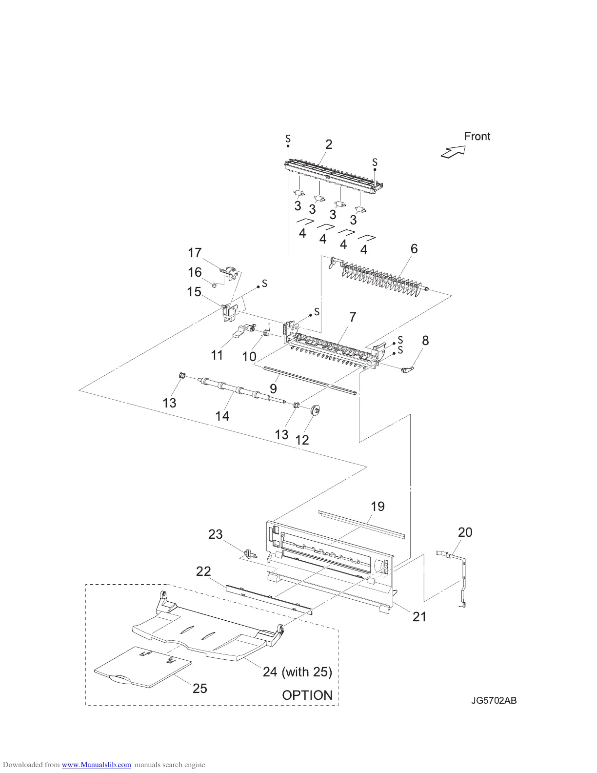
Oki B6500 - PL 7.2 500 Paper Exit (2;2) & Option Face up Tray [Illustration]

Oki B6500
616 pages
Print Icon
To Next Page IconTo Next Page
To Next Page IconTo Next Page
To Previous Page IconTo Previous Page
To Previous Page IconTo Previous Page
Loading...
5 - 20
Chapter 5 Parts List
PL 7.2 500 PAPER EXIT (2/2) & OPTION FACE UP TRAY [ILLUSTRA-
TION]








  










Table of Contents

Other manuals for Oki B6500

Related product manuals