EasyManua.ls Logo

Dodge Sprinter 2006 - Page 1426

Dodge Sprinter 2006
2315 pages
Print Icon
To Next Page IconTo Next Page
To Next Page IconTo Next Page
To Previous Page IconTo Previous Page
To Previous Page IconTo Previous Page
Loading...
C102 (EXCEPT OBD) - (GENERATOR SIDE)
CAV CIRCUIT
A 18WT/BL
B-
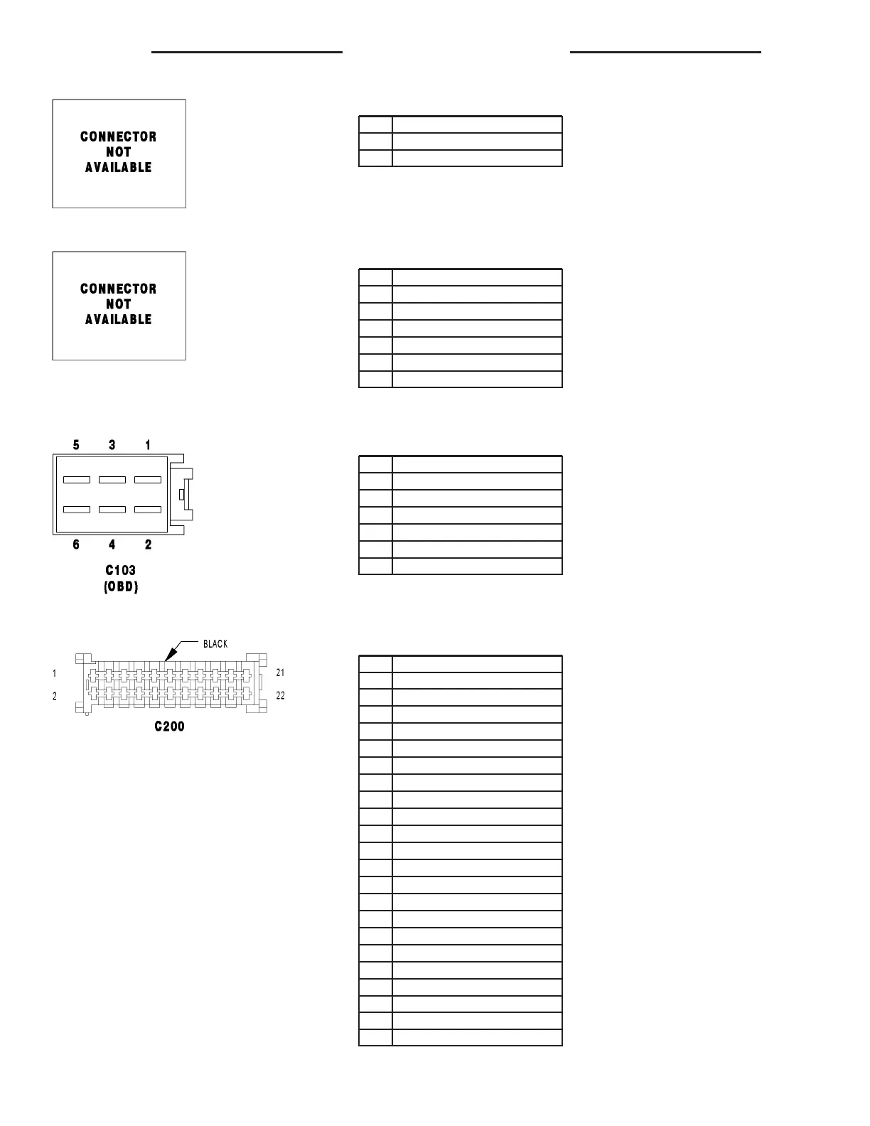
C103 (OBD) - (GENERATOR SIDE)
CAV CIRCUIT
1 18WT/BL
2 14BK/YL
3-
4-
5-
6 16YL/RD
C103 (OBD) - (MAIN BODY)
CAV CIRCUIT
120BL
2 12BK/YL
3-
4-
5-
6 16YL/RD
C200 - BLACK (DASH SIDE)
CAV CIRCUIT
116GY
2 16GY/DG
3 16BK/YL
4 16DG/BL/WT
5 16YL/BK
6 16BL/RD
7 16BK/RD
8 16WT/BK
9 16WT/DG
10 16WT/YL
11 16WT/RD
12 16BK/RD
13 16VT/YL
14 16BR/WT
15 16YL
16 16BR/WT
17 16GY/RD
18 16BK/YL/DG
19 16BK/YL
20 -
21 -
22 -
8W - 80 - 14 8W-80 CONNECTOR PIN-OUTS VA

Table of Contents