EasyManua.ls Logo

Dodge Sprinter 2006 - Page 1784

Dodge Sprinter 2006
2315 pages
Print Icon
To Next Page IconTo Next Page
To Next Page IconTo Next Page
To Previous Page IconTo Previous Page
To Previous Page IconTo Previous Page
Loading...
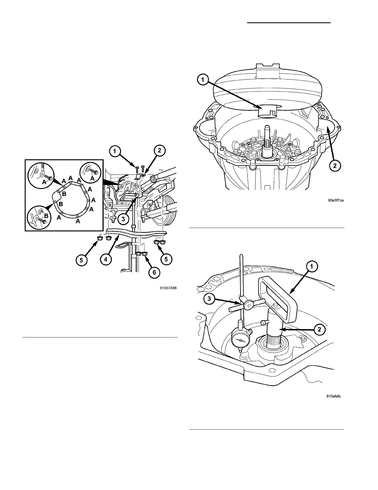
(16) Disconn ect grou nd st rap and tie back t o one
side.
(17) Remove bolts (A) (Fig. 37) on un der side of
transmission . Two bolts (A) on top of tr ansmission
must remain in the housing.
(18) Pla ce h ydraulic tr ansmission jack u nder
transmission a nd r aise sligh tly. Secu re transmission
on hydrau lic jack with a strap or a sk an assista nt t o
hold it.
(19) Remove rea r engine cross member (4) (Fig.
37). F irst r emove th e nuts (5) at the outside en ds of
the engine crossmember. Then r emove th e bolts (1) of
the t ransmission mount.
(20) Remove the la st bolt s (A, B) (F ig. 37) on the
top of th e tra nsmission.
(21) Remove the transmission towa rds the rear
and lower. Ensu re th at th e converter remains in the
transmission housing when the t ransm ission is
removed.
(22) Remove th e torque converter.
DISASSEMBLY
(1) Remove the torqu e converter (1) (Fig. 38).
(2) Pla ce tra nsmission in a ver tica l position.
(3) Measur e input shaft end play as follows: (Fig.
39)
Fig. 37 Support Transmission and Remove Bolts
1 - BOLT, TRANSMISSION MOUNT
2 - UPPER SHELL FOR TRANSMISSION MOUNT
3 - TRANSMISSION MOUNT
4 - CROSSMEMBER
5 - NUT, ENGINE CROSSMEMBER
6 - NUT, TRANSMISSION SUPPORT
Fig. 38 Remove Torque Converter
1 - TORQUE CONVERTER
2 - CONVERTER HOUSING
Fig. 39 Checking Input Shaft End Play
1 - TOOL 8266-8
2 - TOOL 8266-18
3 - TOOL C-3339
21 - 46 AUTOMATIC TRANSMISSION NAG1 - SERVICE INFORMATION VA

Table of Contents

Related product manuals