EasyManua.ls Logo

Dynex DSX - 9.4 Repairing;Replacing Internal Components

Dynex DSX
358 pages
Print Icon
To Next Page IconTo Next Page
To Next Page IconTo Next Page
To Previous Page IconTo Previous Page
To Previous Page IconTo Previous Page
Loading...
Repairing/Replacing Internal Components
DSX™ System Service Manual 9-9
9.4 Repairing/Replacing Internal Components
This section describes the repair/replacement of components of the Incubator module.
Note: The Incubator Module is considered as a service replaceable item. If a defect
is observed, the normal response is to replace the entire module. The information in
this chapter should be used only if it is necessary to repair or replace the module
on-site.
In most cases, replacement of a component is the reverse of the installation. For the sake of
brevity, we will not describe re-installation unless there is a difference between the two
activities.
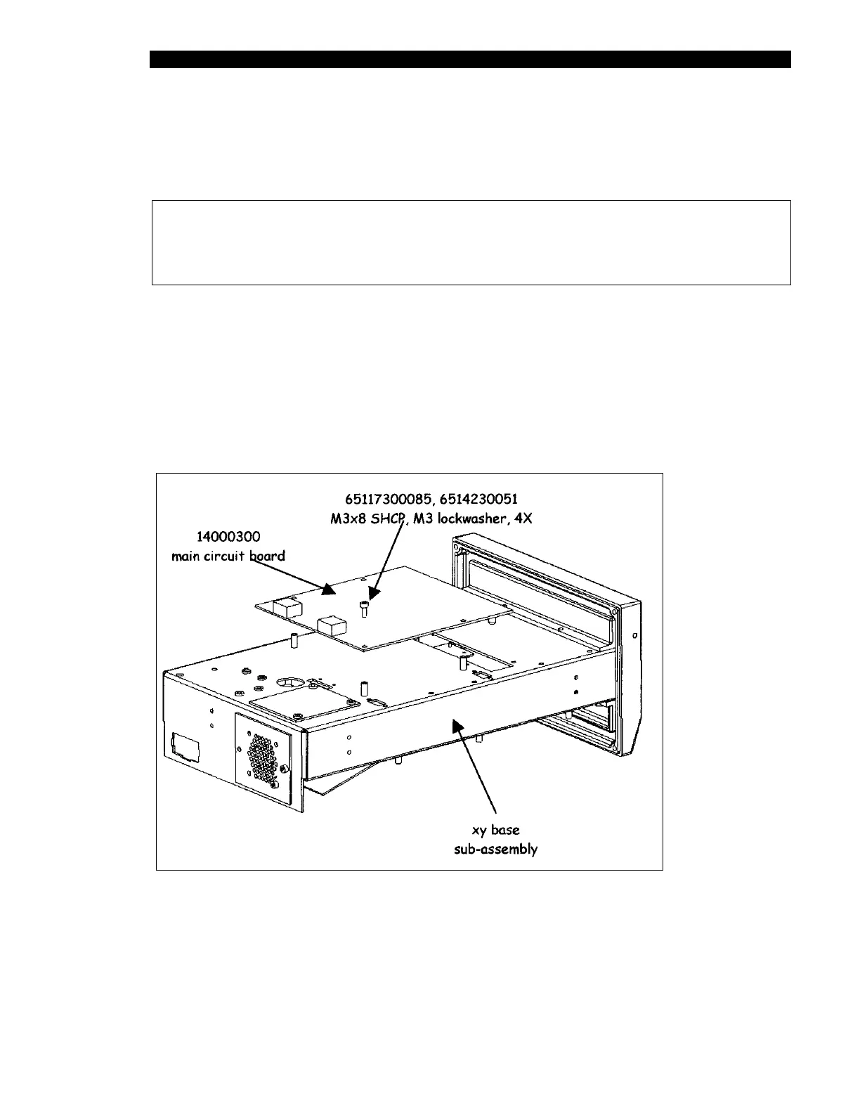
9.4.1 Removal/Replacement of the Main Circuit Board
The Main Circuit Board (Part No. 14000300) is mounted on the bottom of the base
(Figure 9-8).
Figure 9-8 Mounting the Main Circuit Board

Table of Contents

Related product manuals