EasyManua.ls Logo

Ricoh C231 - Remarks for Handling the Thermal Head

Ricoh C231
693 pages
Print Icon
To Next Page IconTo Next Page
To Next Page IconTo Next Page
To Previous Page IconTo Previous Page
To Previous Page IconTo Previous Page
Loading...
Detailed
Descriptions
IMAGE PROCESSING
SM 6-17 C231/C237/C238
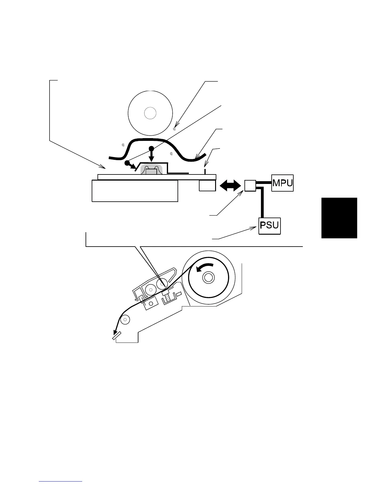
Remarks for Handling the Thermal Head
Pay careful attention to the following remarks when servicing:
C238D021.WMF
Do not touch the master film
surface with bare hands.
Connect and disconnect the connectors
carefully. Keep them horizontal and
firmly reconnect them.
Do not touch the connector
terminals with bare hands, to
prevent damage from static
electricity.
Master
Platen
Roller
Adjust the voltage supplied to match the
specified value for the thermal head.
Do not touch the surface
with bare hands. If this
occurs, clean the
surface with alcohol.
Do not damage the
heating elements.
There are some ICs inside
the metal cover. Do not push
the cover down.
Remove any foreign materials
from the platen roller.

Table of Contents

Related product manuals