EasyManua.ls Logo

Ricoh A229 - Front Scanner Drive Wire

Ricoh A229
590 pages
Print Icon
To Next Page IconTo Next Page
To Next Page IconTo Next Page
To Previous Page IconTo Previous Page
To Previous Page IconTo Previous Page
Loading...
SCANNER UNIT
SM 5-25 A229
Replacement
and
Adjustmen
t
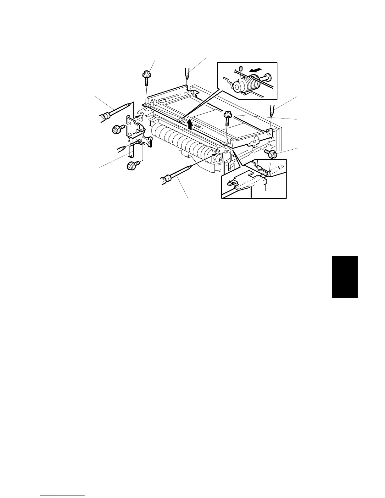
Front Scanner Drive Wire
18. Remove the inner cover [A] (3 screws).
19. Remove the HDD grounding screw [B].
20.
Loosen
the rear scanner securing screws [C].
21.
Remove
the front scanner securing screws [D].
22. Gently lift up the scanner unit from the front side until the front pulley is
accessible. Then put in a pair of screw drivers [E] in the position shown, to hold
the unit open.
NOTE:
There are cables around the scanner unit. Make sure not to lift up the
scanner unit more than necessary.
A229R686.WMF
[A]
[B]
[C]
[D]
[C]
[D]
[E]
[E]

Table of Contents