EasyManua.ls Logo

Ricoh Aficio MP C3501

Ricoh Aficio MP C3501
1989 pages
To Next Page IconTo Next Page
To Next Page IconTo Next Page
To Previous Page IconTo Previous Page
To Previous Page IconTo Previous Page
Loading...
Exit Guide Plate, Paper Feed Out
B793 50 SM
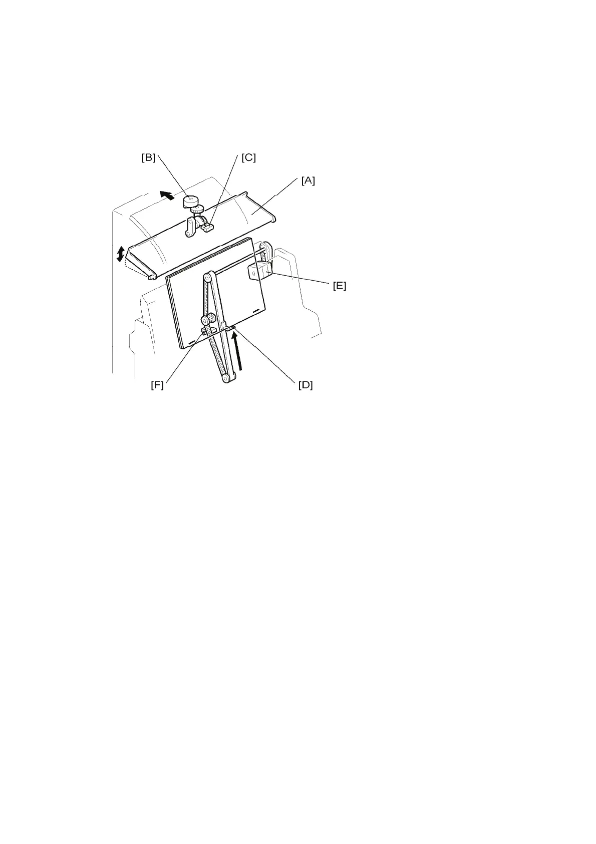
2.7 EXIT GUIDE PLATE, PAPER FEED OUT
The exit guide plate [A] opens when a stapled stack is fed out.
Also it opens every time a sheet is fed to the staple tray, to prevent the paper running into
the exit roller during stacking.
The exit guide plate motor [B] drives the exit guide plate. The exit guide plate HP sensor [C]
detects when the guide plate is at home position.
The stack feed-out belt feeds out stapled stacks. The pawl [D] on the belt moves the stack
out to the exit.
The stack feed-out motor [E] drives the belt. The stack feed-out HP sensor [F] detects when
the belt is at home position.

Table of Contents

Other manuals for Ricoh Aficio MP C3501

Related product manuals