EasyManua.ls Logo

Safran CORTEX Series - Figure 47: QPSK Demodulation with 2 DPU

Safran CORTEX Series
382 pages
Print Icon
To Next Page IconTo Next Page
To Next Page IconTo Next Page
To Previous Page IconTo Previous Page
To Previous Page IconTo Previous Page
Loading...
HIGH DATA RATE RECEIVER
HDR-4G+ USER’S MANUAL
Ref. DTU 100782
Is.Rev 3.5
Date: June 1, 2021
© Safran Data Systems IMP000074 e14r1
Page 140
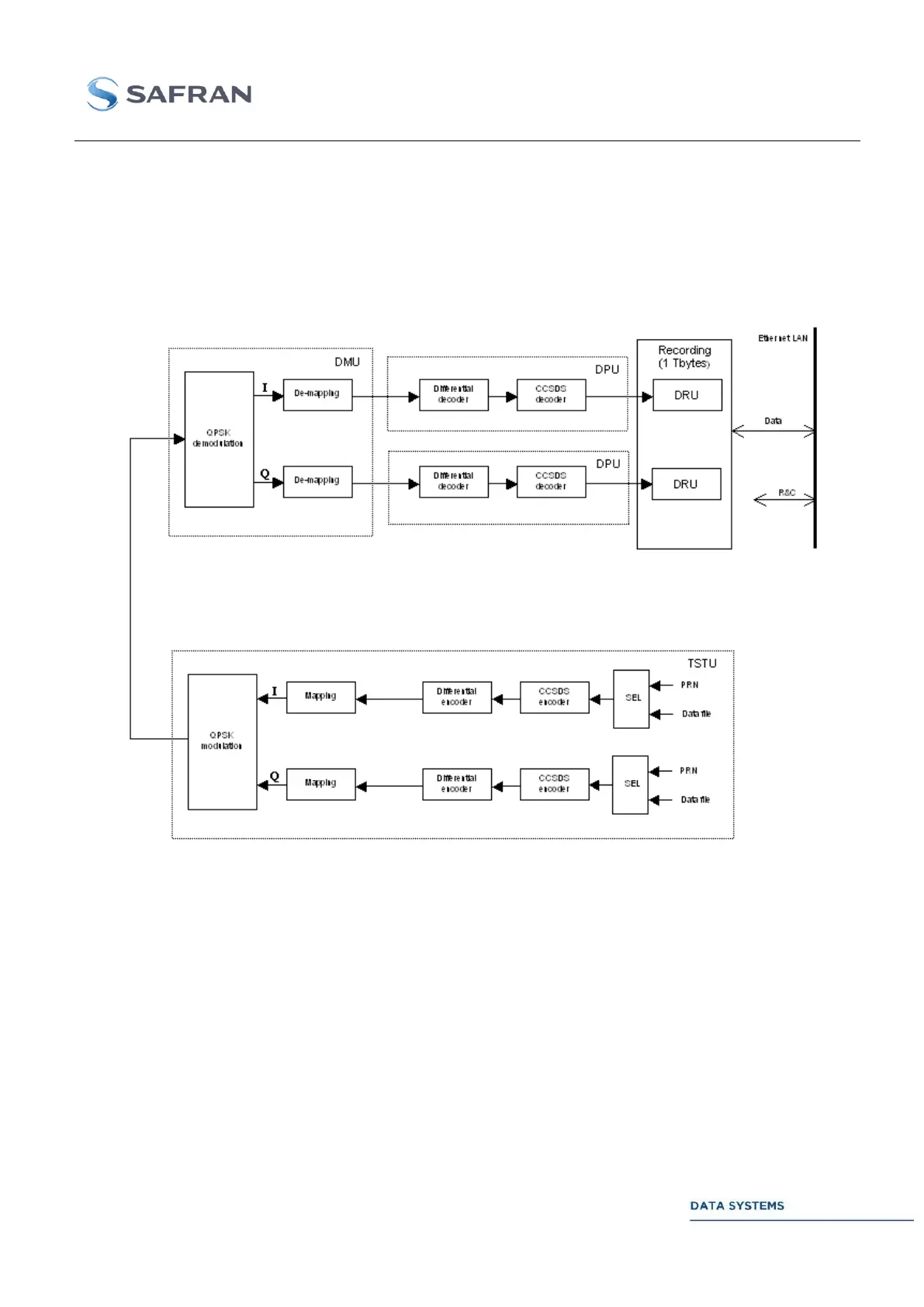
Each DPU (Data Processing Unit) consists in the following CCSDS compliant functions:
- a frame synchronizer
- a de-randomizer
- a Reed Solomon RS(223,255) decoder with supported interleaving and virtual filling
- a VCDU detector
In the different configurations, each function (differential coder/decoder, randomiser/de-randomiser,
CCSDS encoder/decoder can be enabled or disabled.
Figure 47: QPSK demodulation with 2 DPU

Table of Contents

Related product manuals