EasyManua.ls Logo

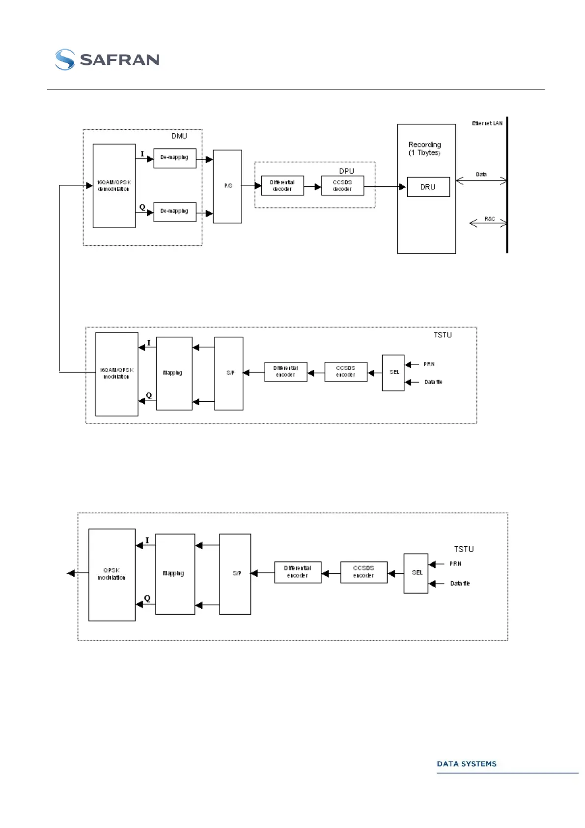
Safran CORTEX Series - Figure 50: QPSK or 16 QAM Demodulation with 1 DPU; Figure 51: QPSK Demodulation with 2 DPU

Safran CORTEX Series
382 pages
Print Icon
To Next Page IconTo Next Page
To Next Page IconTo Next Page
To Previous Page IconTo Previous Page
To Previous Page IconTo Previous Page
Loading...
HIGH DATA RATE RECEIVER
HDR-4G+ USER’S MANUAL
Ref. DTU 100782
Is.Rev 3.5
Date: June 1, 2021
© Safran Data Systems IMP000074 e14r1
Page 143
Figure 50: QPSK or 16QAM demodulation with 1 DPU
Figure 51: QPSK demodulation with 2 DPU

Table of Contents

Related product manuals