EasyManua.ls Logo

Keithley DMM7510 - Page 309

Keithley DMM7510
1036 pages
To Next Page IconTo Next Page
To Next Page IconTo Next Page
To Previous Page IconTo Previous Page
To Previous Page IconTo Previous Page
Loading...
Section
4: Measure considerations Model DMM7510 7½ Digit Graphical Sampling Multimeter
Reference Manual
4-6 DMM7510-901-01 Rev. B / May 2015
Because I = V/R, Equation 1 is modified using the V/R equivalents in place of I
REF
and I
DUT
. Therefore:
I
SOUR
= (V
MEAS
/ R
REF
) + (V
MEAS
/ R
DUT
)
Note that V
MEAS
is measured by the Model DMM7510. With V
MEAS
, I
SOUR
, R
REF
known, the Model
DMM7510 calculates the resistance of the DUT and displays the result. R
REF
is learned during
calibration and V
SOUR
is routinely self-calibrated when autozero is enabled.
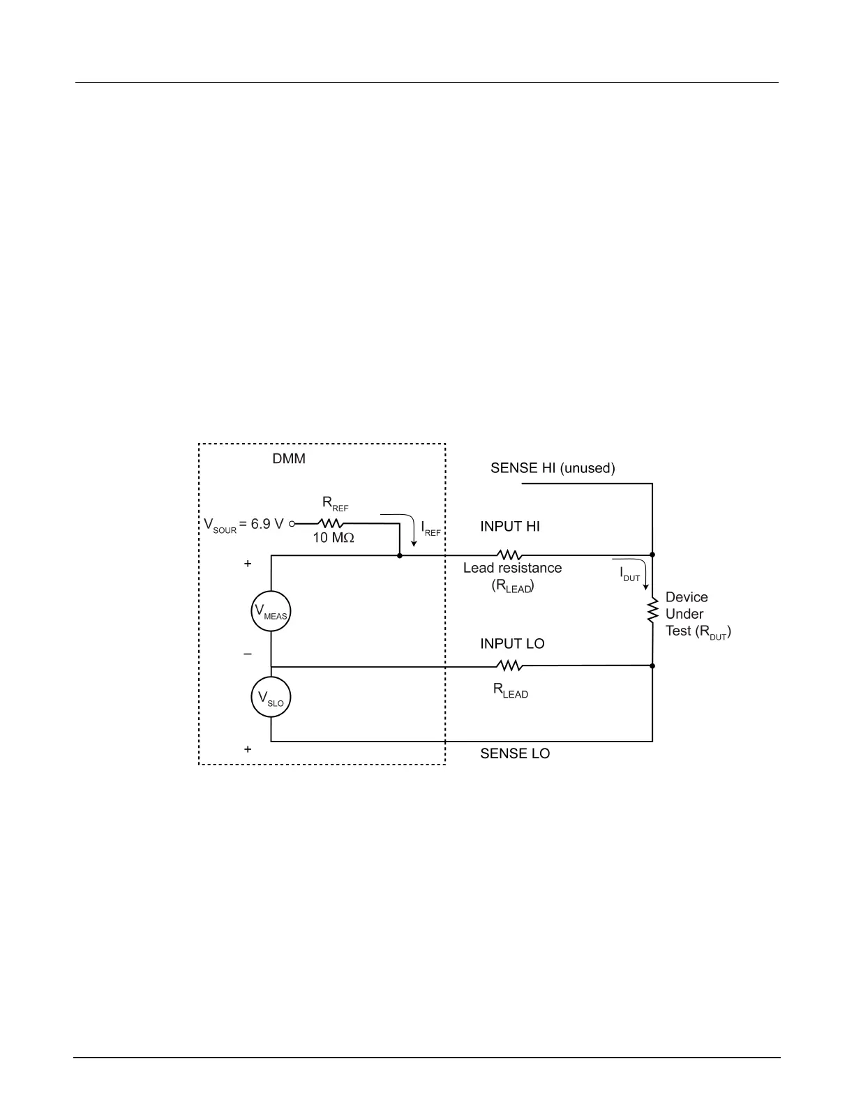
As shown, the 4-wire ohm function can also be used to measure ohms for the 10 M and 100 M
ranges. To minimize the effects of charge injection when autozero is enabled, the 10 M to 100 M
is actually a 3-wire ohm measurement. SENSE HI is not used (it can be left open). The measurement
method is similar to the ratiometric method for 2-wire ohms, but it performs an extra voltage
measurement (V
LEAD
) to compensate for voltage drop in the input test leads.
Note that V
MEAS
includes the voltage drops of the input test leads (Input HI and Input LO). Therefore,
the actual voltage drop across the DUT is V
MEAS
minus the two voltage drops in the test leads.
Because matched inputs are used, the voltage drop is 2 x V
LEAD
. Therefore:
V
DUT
= V
MEAS
- 2(V
LEAD
)
Figure 137: 4-wire ratiometric resistance measurement method

Table of Contents

Other manuals for Keithley DMM7510

Related product manuals