EasyManua.ls Logo

Ricoh Aficio MP C3501

Ricoh Aficio MP C3501
1989 pages
To Next Page IconTo Next Page
To Next Page IconTo Next Page
To Previous Page IconTo Previous Page
To Previous Page IconTo Previous Page
Loading...
Shift Tray
B793 44 SM
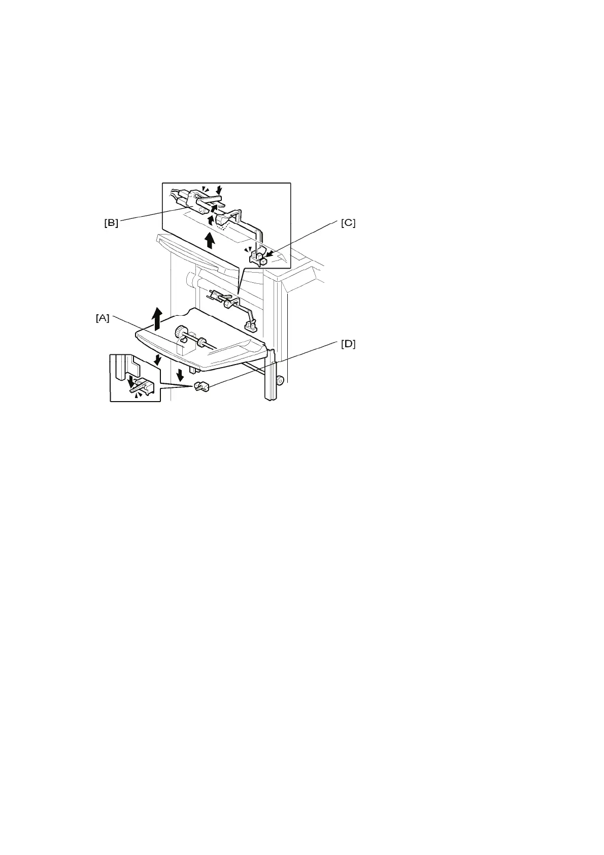
2.4 SHIFT TRAY
2.4.1 UP/DOWN MOTION
The shift tray motor [A] moves the tray up and down.
The upper limit switch [B] detects when the tray moves up too far, and cuts power to the
shift tray motor.
The shift tray position sensor [C] checks when the tray (or the top of the stack) is at the
correct height to receive paper.
Shift Mode: This is checked every 5 sheets
Staple Mode: This is checked every stack
The lower limit sensor [D] detects when the tray is full. At this point, the tray cannot move
down any more.

Table of Contents

Other manuals for Ricoh Aficio MP C3501

Related product manuals