EasyManua.ls Logo

Ricoh Aficio MP C3501

Ricoh Aficio MP C3501
1989 pages
To Next Page IconTo Next Page
To Next Page IconTo Next Page
To Previous Page IconTo Previous Page
To Previous Page IconTo Previous Page
Loading...
Proof Tray
SM 43 B793
B793
Booklet
Finisher
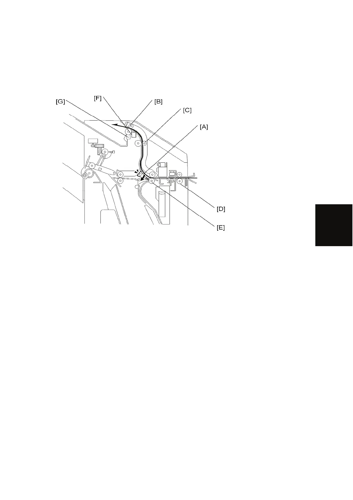
2.3 PROOF TRAY
Proof Tray Junction Gate Control [A]: Proof Tray Gate Solenoid
Roller Drive:
Proof Tray Exit Roller [B], Proof Tray Transport Roller [C]: Controlled by the Upper
Transport Motor
Entrance Roller [D], Transport Roller [E]: Controlled by the Entrance Motor
Jam Detection: Proof Tray Exit Sensor [F]
Tray Full Detection: Proof Tray Full Sensor [G]

Table of Contents

Other manuals for Ricoh Aficio MP C3501

Related product manuals