EasyManua.ls Logo

Ricoh Aficio MP C3501

Ricoh Aficio MP C3501
1989 pages
To Next Page IconTo Next Page
To Next Page IconTo Next Page
To Previous Page IconTo Previous Page
To Previous Page IconTo Previous Page
Loading...
Punch Unit
SM 59 B793
B793
Booklet
Finisher
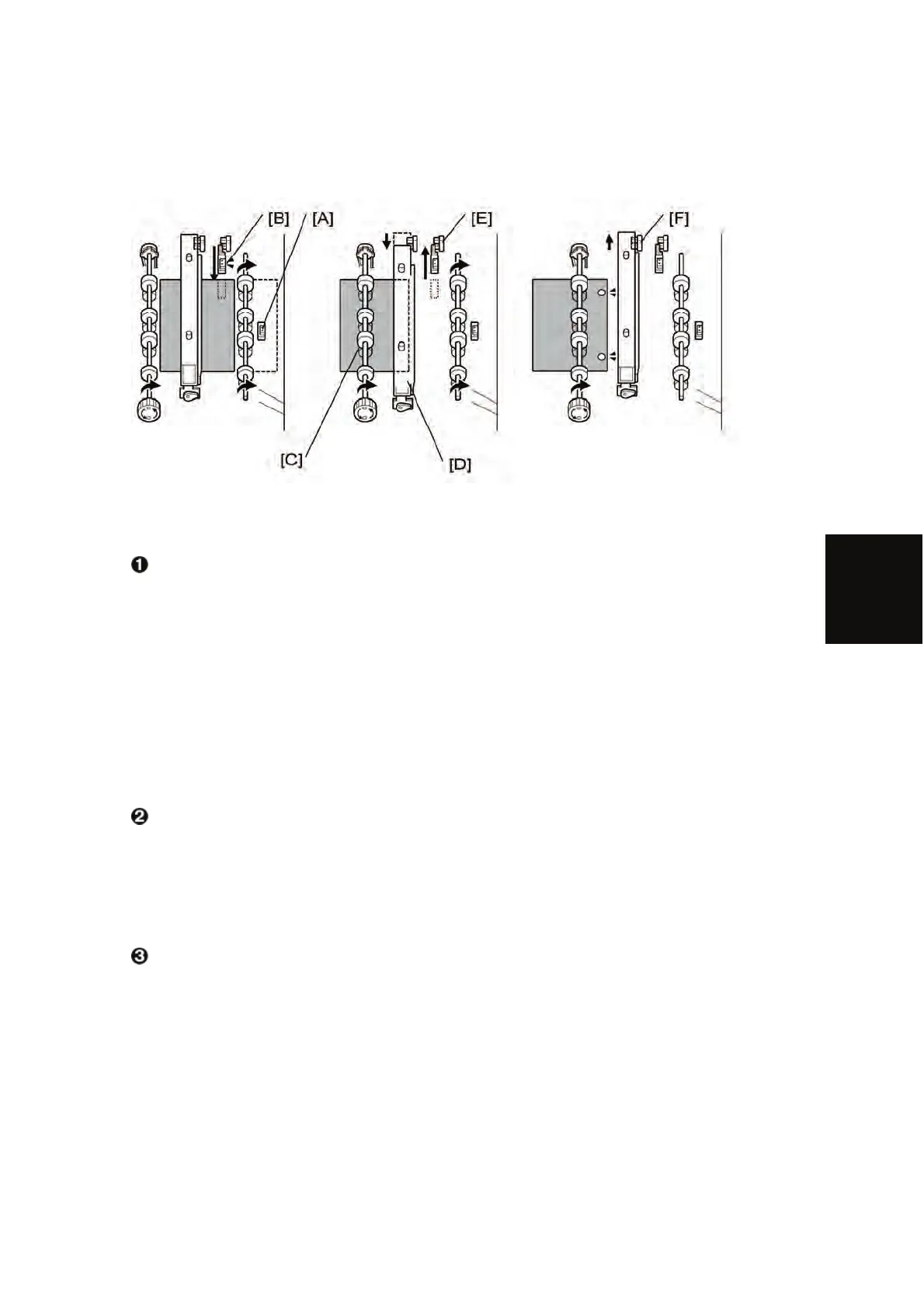
Punch Unit Position Correction
These operations (skew correction before punching, and punch unit position correction)
increase the accuracy of the punch alignment.
The trailing edge of the sheet passes the finisher entrance sensor [A].
The paper position slide unit moves the paper position sensor [B] forward to the edge of the
paper.
The paper position sensor detects the position of the paper edge and sends this information
to the punch unit board. The machine uses the detected position of the paper edge to
calculate the correct position for punching.
The upper transport motor switches on and rotates the feed rollers [C] the prescribed
distance to put the paper under the punch unit [D].
Using the result of the position calculation, the punch unit control board moves the punch
unit [D] to the adjusted punch position.
The paper position slide unit and its paper sensor, move back to the paper position slide
home position sensor [E], and the punch unit fires the punches to make the holes.
The feed rollers feed the punched paper out of the punch unit and into the paper path. The
punch unit moves back to home position (detected by the home position sensor [F].

Table of Contents

Other manuals for Ricoh Aficio MP C3501

Related product manuals