EasyManua.ls Logo

Siemens SINAMICS G120 - Fig. 2-109 7224 - AVA (absolute value generators)

Siemens SINAMICS G120
750 pages
To Next Page IconTo Next Page
To Next Page IconTo Next Page
To Previous Page IconTo Previous Page
To Previous Page IconTo Previous Page
Loading...
Function diagrams
Free Function Blocks
2-614
© Siemens AG 2011 All Rights Reserved
SINAMICS G120 / Control Units CU240B/E-2 Parameter Manual (LH11), 01/2011
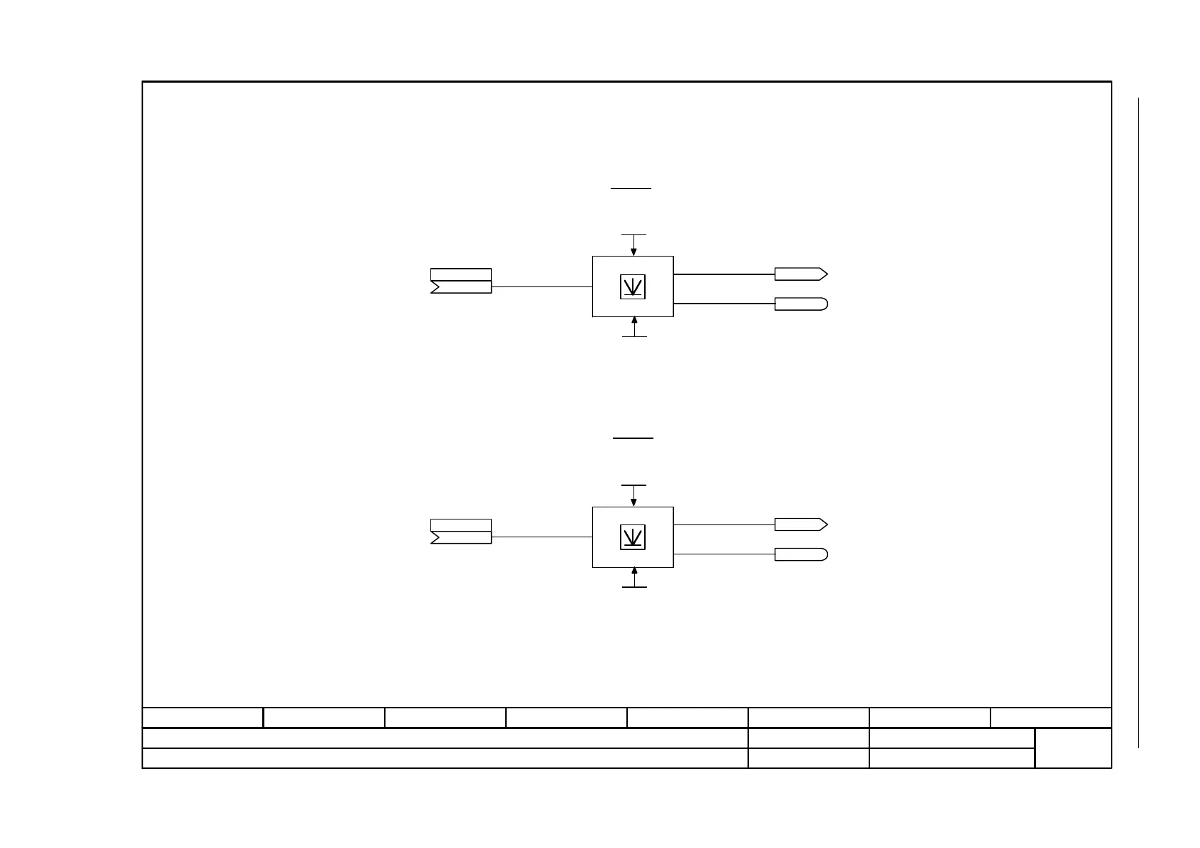
Fig. 2-109 7224 – AVA (absolute value generators)
- 7224 -
Function diagram
87654321
FP_7224_97_51.vsd
Arithmetic function blocks
G120 CU240B/E-2
13.12.2010 V4.4
AVA (absolute value generators)
AVA 0
X
Y
SN
AVA 1
AVA 0 RTG
5 ... 9999
p20131 (9999)
AVA 0 RunSeq
0 ... 32000
p20132 (340)
r20129
AVA 0 output Y
AVA 0 input neg SN
r20130
AVA 0 input X
(0)
p20128
X
Y
SN
AVA 1 RTG
5 ... 9999
p20136 (9999)
AVA 1 RunSeq
0 ... 32000
p20137 (350)
r20134
AVA 1 output Y
AVA 1 input neg SN
r20135
AVA 1 input X
(0)
p20133

Table of Contents

Other manuals for Siemens SINAMICS G120

Related product manuals