EasyManua.ls Logo

FOR-A FA-9520 - Page 263

FOR-A FA-9520
280 pages
Print Icon
To Next Page IconTo Next Page
To Next Page IconTo Next Page
To Previous Page IconTo Previous Page
To Previous Page IconTo Previous Page
Loading...
263
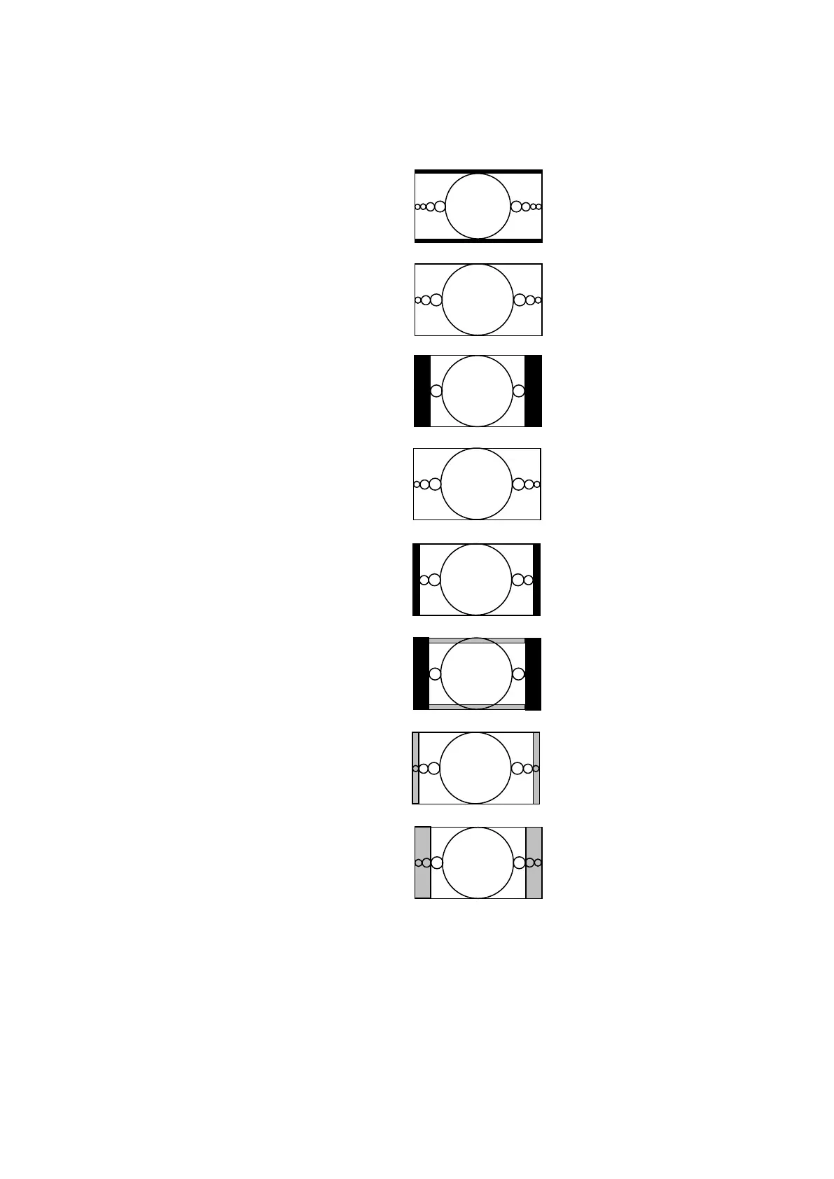
AFD 16:9 code
WSS name
FA-9520-specified name
(VI, S2016)
Illustration in a 16:9
coded frame
Description
None
16:9 L>16:9
Image with an aspect ratio
greater than 16:9 as a vertically
centered letterbox in a 16:9
coded frame.
F 16:9 AMRPH
16:9 F 16:9
Image is full frame, with an
aspect ratio the same as that of
the 16:9 coded frame.
None
16:9 P 4:3
Image with a 4:3 aspect ratio as
a horizontally centered
pillarbox image in a 16:9 coded
frame.
None
16:9 F PRTD
Image is full frame, with a 16:9
aspect ratio and all image
areas protected.
None
16:9 P 14:9
Image with a 14:9 aspect ratio
as a horizontally centered
pillarbox image in a 16:9 coded
frame.
None
16:9PALT14:9
Image with a 4:3 aspect ratio
and alternative 14:9 centered
pillarbox image in a 16:9 coded
frame.
None
16:9FALT14:9
Image with a 16:9 aspect ratio
and alternative 14:9 center in a
16:9 coded frame.
None
16:9 F ALT4:3
Image with a 16:9 aspect ratio
and alternative 4:3 center in a
16:9 coded frame.

Table of Contents

Other manuals for FOR-A FA-9520

Related product manuals