EasyManua.ls Logo

Renesas RL78 Series - Page 1621

Renesas RL78 Series
1879 pages
Print Icon
To Next Page IconTo Next Page
To Next Page IconTo Next Page
To Previous Page IconTo Previous Page
To Previous Page IconTo Previous Page
Loading...
RL78/F13, F14 CHAPTER 27 SAFETY FUNCTIONS
R01UH0368EJ0210 Rev.2.10 1589
Dec 10, 2015
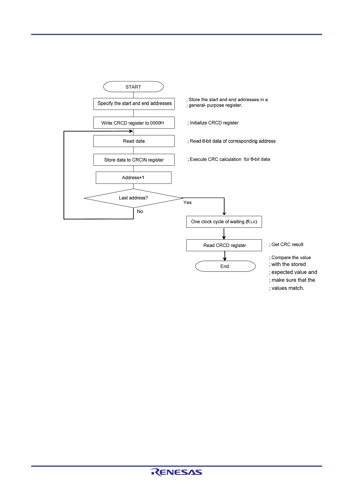
<Operation flow>
Figure 27-7. CRC Operation Function (General-Purpose CRC)

Table of Contents

Other manuals for Renesas RL78 Series

Related product manuals