EasyManua.ls Logo

Boeing 767 - Page 354

Boeing 767
503 pages
Print Icon
To Next Page IconTo Next Page
To Next Page IconTo Next Page
To Previous Page IconTo Previous Page
To Previous Page IconTo Previous Page
Loading...
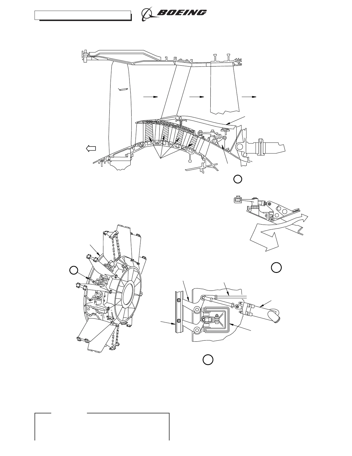
SEE
A
SEE
B
A
B
FWD
BELLCRANK
VBV
MECHANICAL
SYSTEM
OGV
FAN AIR
CF8-A6246-00-A
CF8-6663-00-C
VBV
(DOOR
CLOSED)
LOW
PRESSURE
COMPRESSOR
BLADES
ACOUSTICAL
LINER
SEGMENT
LOW
PRESSURE
COMPRESSOR
ASSEMBLY
DOOR OPEN
UNISON
RING
VALVE
(12
LOCATIONS)
VBV
ACTUATOR
AND
FEEDBACK
CABLE
UNISON
RING
VBV
FEEDBACK
CABLE
BELLCRANK
VBV
ACTUATOR
(2
LOCATIONS)
E98127 S00061423064_V1
Stage 1 Blade Repair - Variable Bypass Valve System Details
Figure 804/72-35-00-990-812-G00
767
AIRCRAFT MAINTENANCE MANUAL
CF6-80A SERIES ENGINES
72-35-00
NoC
Page 817
D633T1B7 Dec 22/2016
ECCN 9E991 BOEING PROPRIETARY - Copyright © Unpublished Work - See title page for details
EFFECTIVITY
ABX 001-007, 011, 012, 016-019, 021, 022, 025, 101,
109, 114, 115, 314-999

Table of Contents

Related product manuals