EasyManua.ls Logo

Leibinger JET2neo - Inputs; ON Input

Leibinger JET2neo
294 pages
Print Icon
To Next Page IconTo Next Page
To Next Page IconTo Next Page
To Previous Page IconTo Previous Page
To Previous Page IconTo Previous Page
Loading...
Page 278 Appendix Group 12
Release R1.12 en JET2 neo
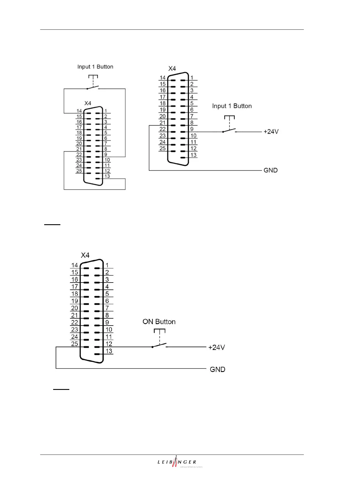
12.2.2.4 Inputs
(Example with pushbutton)
with internal supply
with external supply
Note: Only input 1 is displayed, the same goes also for input 2 and 3
12.2.4.5 ON Input
(Example with pushbutton)
Note: A switching option which works with the internal 24V supply (Pin 14) is not possible
because it is not available at the plug in the OFF-status of the printer.

Table of Contents

Other manuals for Leibinger JET2neo

Related product manuals