EasyManua.ls Logo

Boeing 767 - Page 106

Boeing 767
503 pages
Print Icon
To Next Page IconTo Next Page
To Next Page IconTo Next Page
To Previous Page IconTo Previous Page
To Previous Page IconTo Previous Page
Loading...
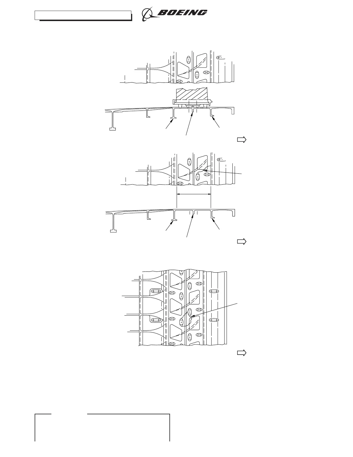
CONDITION
B
T-RIB
T-RIB
CRACKS
FWD
CONDITION
A
CRACK
FWD
L-RIB
RIB
OGV
STIFFENING
FWD
L-RIB
RIB
OGV
STIFFENING
244191 S00061422756_V1
L-Rib and T-Rib Circumferential Plane Inspection
Figure 623/72-00-00-990-834-G00
767
AIRCRAFT MAINTENANCE MANUAL
CF6-80A SERIES ENGINES
72-00-00
NoC
Page 673
D633T1B7 Aug 22/2017
ECCN 9E991 BOEING PROPRIETARY - Copyright © Unpublished Work - See title page for details
EFFECTIVITY
ABX 001-007, 011, 012, 016-019, 021, 022, 025, 101,
109, 114, 115, 314-999

Table of Contents

Related product manuals