EasyManua.ls Logo

Cisco NCS 2006 - Page 114

Cisco NCS 2006
510 pages
Print Icon
To Next Page IconTo Next Page
To Next Page IconTo Next Page
To Previous Page IconTo Previous Page
To Previous Page IconTo Previous Page
Loading...
Procedure
Step 1
Connect the return cables of the power supply to the Earth ground located at the power supply side.
Step 2
Connect the office power according to the fuse panel engineering specifications.
Step 3
Measure and cut the cables as needed to reach the NCS 2002 from the fuse panel.
Step 4
Dress the power according to local site practice.
Step 5
Strip 1/2 inch (12.7 mm) of insulation from all power cables that you will use.
Step 6
Crimp the lugs onto the ends of all power leads.
Step 7
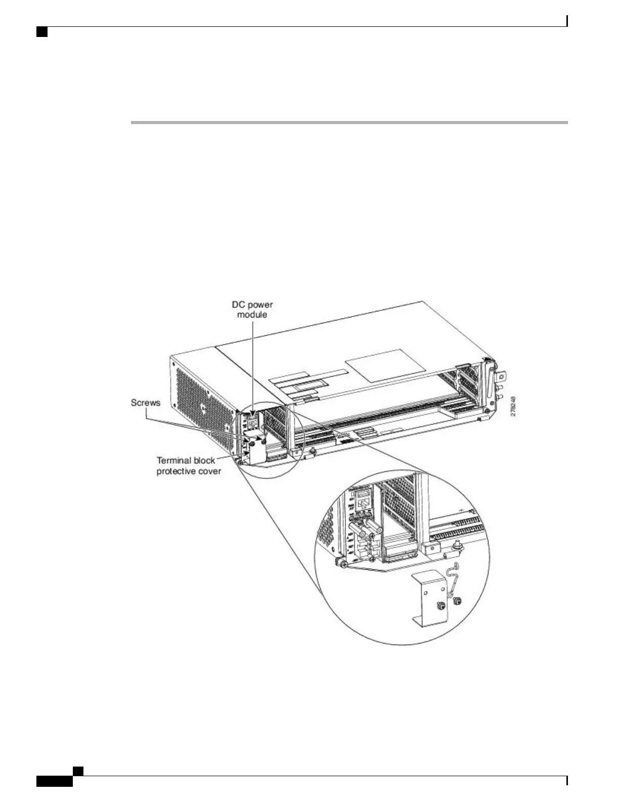
Verify that the DC power module is installed in Slot A.
Step 8
Remove the screws from the terminal block protective cover from the DC power module (see the figure
below).
Figure 46: Connecting Office Power
DC Power Module (ANSI Only)
Cisco NCS 2000 Series Hardware Installation Guide
86
Connecting Power and Ground
DLP-L50 Connecting Office Power (DC) to the NCS 2002 Shelf (ANSI Only)

Table of Contents

Related product manuals