EasyManua.ls Logo

MacDon FFT FlexDraper FD75 - Installing Knifehead Bearing; Installing Knife

MacDon FFT FlexDraper FD75
474 pages
Print Icon
To Next Page IconTo Next Page
To Next Page IconTo Next Page
To Previous Page IconTo Previous Page
To Previous Page IconTo Previous Page
Loading...
MAINTENANCE AND SERVICING
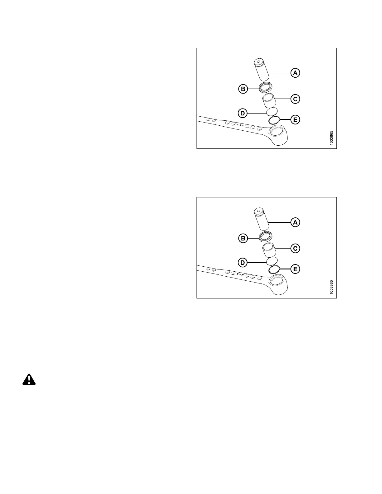
8. Using a at-ended tool with approximately the same
diameter as pin (A). From the underside of the
knifehead, tap the seal (B), bearing (C), plug (D), and
O-ring (E) from the knifehead.
NOTE:
Seal (B) c an be replaced without removing the
bearing. When changing seal, check pin and needle
bearing for wear. Replace if necessary.
Figure 5.86: Knifehead B earing Assembly
5.8.4 Installing Knifehead Bearing
To install
the knifehead bearing, follow these steps:
1. Place O-ri
ng (E) and plug (D) in knifehead.
IMPORTAN
T:
Install t
he bearing with the stamped end (the end
with iden
tication markin gs) facing up.
2. Using a at-endedtool (A) with approximately the same
diameter as the bearing (C), push the bearing into the
knifehead until the top of the bearing is ush with the
step in knifehead.
3. Install seal (B) into the knifehead with the lip
facing outw ards.
IMPORTANT:
To avoid premature knifehead or knife drive box
failure, be sure there is no looseness in the tofthe
knifehead pin and the needle bearing, and the tof
the knifehead pin and output arm.
4. Install knife. Refer to Installing Knife5.8.5 Installin g
Knife, page 302.
Figure 5.87: Knifehead B earing Assembly
5.8.5 Installing Knife
WARNING
Stand to rear of knife during installation to reduce risk of injury from cutting edges. Wear heavy gloves
when handling knife.
To install a knife, follow these steps:
1. Slide knife into place and align knifehead with the output arm.
147695 302 Revision A

Table of Contents

Other manuals for MacDon FFT FlexDraper FD75

Related product manuals