EasyManua.ls Logo

SMC Networks LECSN-T Series - Page 367

SMC Networks LECSN-T Series
1046 pages
Print Icon
To Next Page IconTo Next Page
To Next Page IconTo Next Page
To Previous Page IconTo Previous Page
To Previous Page IconTo Previous Page
Loading...
11. OPTIONS AND PERIPHERAL EQUIPMENT
11 - 23
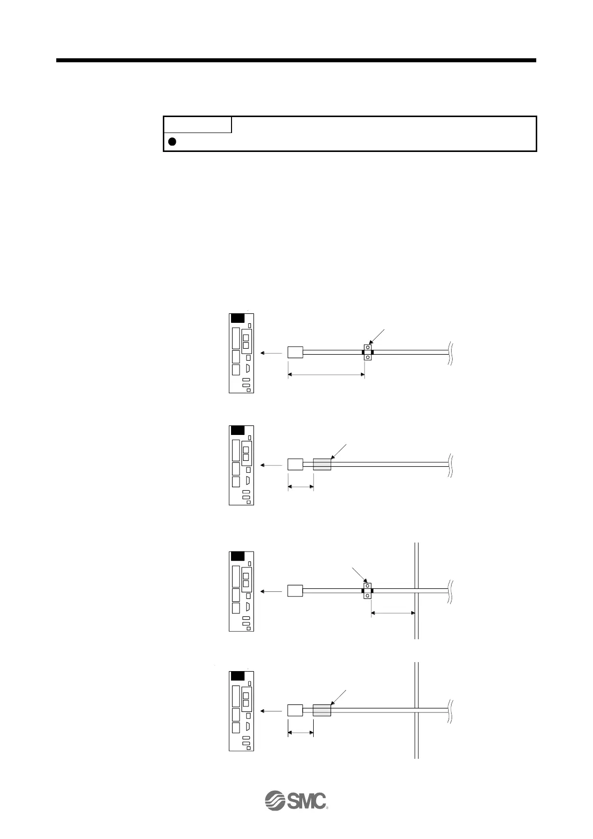
(d) Noise reduction techniques for the network cable
POINT
Take measures against noise for both ends of the network cable.
When using it in an environment with excessive noise, directly connect the shield of the network
cable to the ground plate with cable clamp fittings at a place 200 mm to 300 mm or less from the
driver.
When connecting the network cable from outside the cabinet, connect it to the ground plate at a
place 5 mm to 10 mm away from the cabinet entrance.
To reinforce measures against noise, it is recommended to install a data line filter (TDK ZCAT1730-
0730) to the network cable. Install the data line filter to a place 80 mm or less from the driver.
1) For inside the cabinet
a) When using cable clamp fittings
Servo amplifier
200 mm to 300 mm or less
Cable clamp fitting
b) When using a data line filter
Servo amplifier
80 mm or less
Data line filter
2) For outside the cabinet
a) When using cable clamp fittings
Servo amplifier
Locate 5 mm to 10 mm away
from the cabinet entrance.
Cable clamp fitting
Outside the
cabinet
Inside the
cabinet
b) When using a data line filter
Servo amplifier
80 mm or less
Data line filter
Outside the
cabinet
Inside the
cabinet
driver
driver
driver
driver

Table of Contents

Related product manuals