EasyManua.ls Logo

MacDon M1170 - Transport

MacDon M1170
528 pages
Print Icon
To Next Page IconTo Next Page
To Next Page IconTo Next Page
To Previous Page IconTo Previous Page
To Previous Page IconTo Previous Page
Loading...
214733 384 Revision A
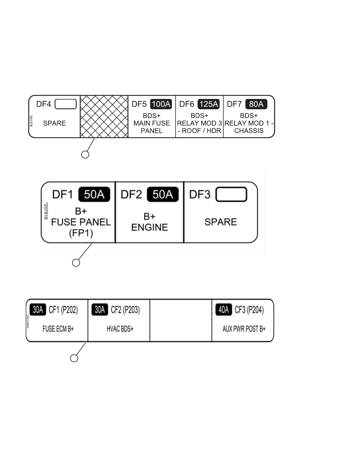
Figure 5.203: ATO (Group C) and AMI (Group D) Fuse Decals
1025169
A
B
C
A - Lower AMI Group Fuse Decal (MD #291378) B - Upper AMI Group Fuse Decal (MD #207818) C - ATO Group Fuse Decal (MD #291465)
MAINTENANCE AND SERVICING

Table of Contents

Other manuals for MacDon M1170

Related product manuals