EasyManua.ls Logo

Freescale Semiconductor MPC5553 - Page 50

Default Icon
1208 pages
Print Icon
To Next Page IconTo Next Page
To Next Page IconTo Next Page
To Previous Page IconTo Previous Page
To Previous Page IconTo Previous Page
Loading...
MPC5553/MPC5554 Microcontroller Reference Manual, Rev. 5
Freescale Semiconductor 2-3
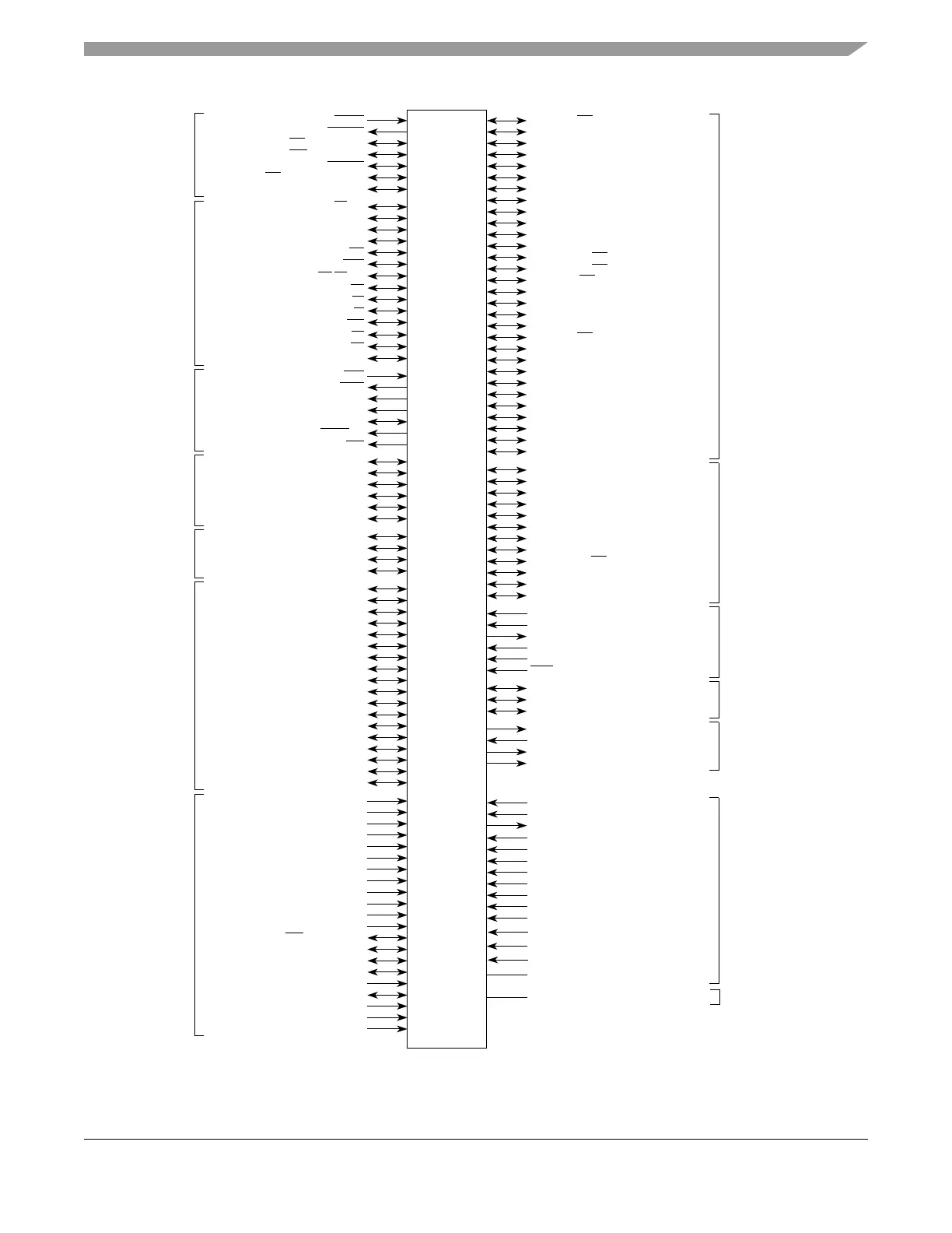
Figure 2-2. MPC5554 Signal Diagram
V
RH
V
RL
REFBYPC
ETRIG[0:1]_GPIO[111:112]
GPIO[83]_CNTXA
GPIO[84]_CNRXA
GPIO[85]_PCSC[3]_CNTXB
GPIO[86]_PCSC[4]_CNRXB
GPIO[87]_PCSD[3]_CNTXC
GPIO[88]_PCSD[4]_CNRXC
FlexCAN
GPIO[89]_TXDA
GPIO[90]_RXDA
GPIO[91]_PCSD[1]_TXDB
GPIO[92]_PCSD[5]_RXDB
eSCI
MPC5554
GPIO[93]_PCSC[1]_SCKA
DAN0+_AN[0]
DAN0-_AN[1]
DAN1+_AN[2]
DAN1-_AN[3]
DAN2+_AN[4]
XTAL
EXTCLK_EXTAL
CLKOUT
ENGCLK
RESET
EVTI
EVTO
MCKO
MDO[3:0]
RSTOUT
GPIO[208]_IRQ[4]_PLLCFG[0]
GPIO[209]_SOUTD_IRQ[
5]_PLLCFG[1]
GPIO[210]_RSTCFG
GPIO[211:212]_IRQ[2:3]_BOOTCFG[0:1]
GPIO[0:3]_ADDR[8:11]_CS
[0:3]
GPIO[4:27]_ADDR[8:31]
GPIO[28:59]_DATA[0:31]
GPIO[60:61]_TSIZ[0:1]
NEXUS
DSPI
GPIO[94]_PCSC[2]_SINA
GPIO[95]_PCSC[5]_SOUTA
GPIO[97]_PCSB[2]_PCSA[1]
GPIO[98]_SCKD_PCSA[2]
GPIO[99]_SIND_PCSA[3]
GPIO[100]_SOUTD_PCSA[4]
GPIO[96]_PCSD[2]_PCSA[0]
GPIO[82:75]_MDO[11:4]
eQADC
eTPU
NC
NC
GPIO[213]_WKPCFG
GPIO[73]_BG
GPIO[72]_BR
GPIO[71]_TEA
GPIO[62]_RD_WR
GPIO[63]_BDIP
GPIO[64:67]_WE/BE[0:3]
GPIO[68]_OE
GPIO[69]_TS
GPIO[70]_TA
MSEO[1:0]
RDY
GPIO[101]_PCSB[3]_PCSA[5]
GPIO[102]_PCSC[1]_SCKB
GPIO[104]_PCSC[5]_SOUTB
GPIO[105]_PCSD[2]_PCSB[0]
GPIO[106]_PCSD[0]_PCSB[1]
GPIO[107]_SOUTC_PCSB[2]
GPIO[103]_PCSC[2]_SINB
GPIO[108]_SINC_PCSB[3]
GPIO[109]_SCKC_PCSB[4]
GPIO[110]_PCSC[0]_PCSB[5]
DAN2-_AN[5]
DAN3+_AN[6]
DAN3-_AN[7]
ANW_AN[8]
ANX_AN[9]
ANY_AN[10]
ANZ_AN[11]
SDS_MA[0]_AN[12]
SDO_MA[1]_AN[13]
SDI_MA[2]_AN[14]
FCK_AN[15]
AN[16:39]
TCRCLKA_IRQ
[7]_GPIO[113]
ETPUA[0:3]_ETPUA[12:15]_GPIO[114:117]
ETPUA[4:7]_ETPUA[16:19]_GPIO[118:121]
ETPUA[8:11]_ETPUA[20:23]_GPIO[122:125]
ETPUA[12]_PCSB[1]_GPIO[126]
ETPUA[13]_PCSB[3]_GPIO[127]
ETPUA[14]_PCSB[4]_GPIO[128]
ETPUA[15]_PCSB[5]_GPIO[129]
ETPUA[16]_PCSD[1]_GPIO[130]
ETPUA[17]_PCSD[2]_GPIO[131]
ETPUA[18]_PCSD[3]_GPIO[132]
ETPUA[19]_PCSD[4]_GPIO[133]
ETPUA[20:23]_IRQ[8:11]_GPIO[134:137]
ETPUA[24:26]_IRQ
[12:14]_GPIO[138:140]
ETPUA[27]_IRQ[15]_GPIO[141]
ETPUA[28]_PCSC[1]_GPIO[142]
ETPUA[29]_PCSC[2]_GPIO[143]
ETPUA[30]_PCSC[3]_GPIO[144]
ETPUA[31]_PCSC[4]_GPIO[145]
TCK
TDI
TDO
TMS
JCOMP
TEST
JTAG/TEST
EMIOS[0:2]_ETPUA[0:2]_GPIO[179:181]
EMIOS[3:5]_ETPUA[3:5]_GPIO[182:184]
EMIOS[6:7]_ETPUA[6:7]_GPIO[185:186]
EMIOS[8:9]_ETPUA[8:9]_GPIO[187:188]
EMIOS[12]_SOUTC_GPIO[191]
EMIOS[13]_SOUTD_GPIO[192]
EMIOS[14:15]_IRQ
[0:1]_GPIO[193:194]
EMIOS[16:18]_ETPUB[0:2]_GPIO[195:197]
EMIOS[19:21]_ETPUB[3:5]_GPIO[198:200]
EMIOS[10]_GPIO[189]
EMIOS[11]_GPIO[190]
EMIOS[22:23]_ETPUB[6:7]_GPIO[201:202]
GPIO[203:204]_EMIOS[14:15]
GPIO[205]
GPIO[206:207]
GPIO
EMIOS
EXTERNAL
BUS
INTERFACE
(EBI)
RESET/
CONFIGURATION
CLOCK
SYNTHESIZER
GPIO[74]
TCRCLKB_IRQ[6]_GPIO[146]
ETPUB[0:4]_ETPUB[16:20]_GPIO[147:151]
ETPUB[5:9]_ETPUB[21:25]_GPIO[152:156]
ETPUB[10:15]_ETPUB[26:31]_GPIO[157:162]
ETPUB[16]_PCSA[1]_GPIO[163]
ETPUB[17]_PCSA[2]_GPIO[164]
ETPUB[18]_PCSA[3]_GPIO[165]
ETPUB[19]_PCSA[4]_GPIO[166]
ETPUB[20]_GPIO[167]
ETPUB[21:25]_GPIO[168:172]
ETPUB[26:31]_GPIO[173:178]
V
RC33
V
RCVSS
V
RCCTL
V
SSSYN
V
FLASH
V
PP
V
STBY
V
DD
V
DDSYN
V
DDEHn
POWER/
V
DDEn
GROUND
V
DD33
V
SS
(GND)
V
SSAn
V
DDAn

Table of Contents

Related product manuals