EasyManua.ls Logo

Korg NAUTILUS Series - 095: Stereo BPM Multitap Delay

Korg NAUTILUS Series
961 pages
Print Icon
To Next Page IconTo Next Page
To Next Page IconTo Next Page
To Previous Page IconTo Previous Page
To Previous Page IconTo Previous Page
Loading...
Delay 095: Stereo BPM Multitap Delay
849
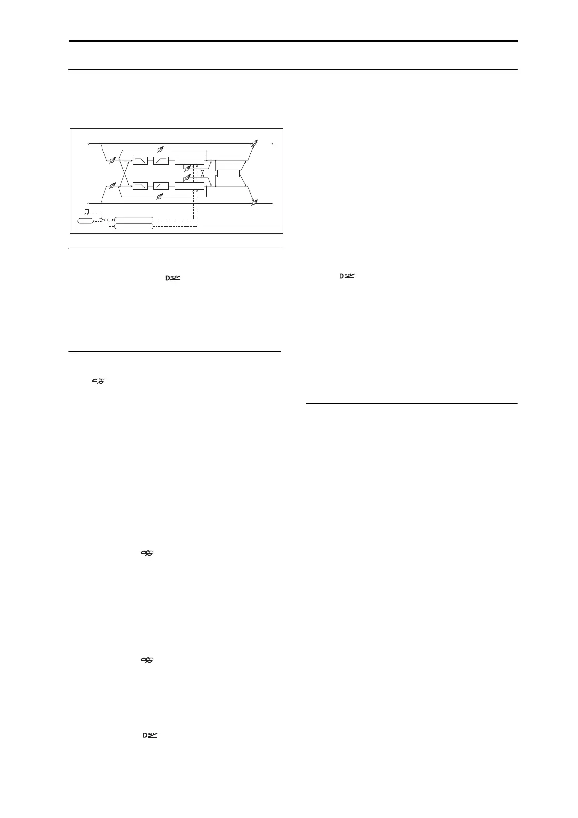
095: Stereo BPM Multitap Delay
This four-tap delay enables you to select a tempo and rhythm
pattern to set up each tap.
INPUT
Input Level Dmod [%] [+/–100]
Sets the modulation amount for the input level. For more
information, see ā€œInput Level Dmod [%]ā€ on page 823.
Source [Off…Tempo]
Selects the modulation source for the input level.
DELAY
BPM [MIDI, 40.00…300.00]
MIDI syncs to the system tempo; 40-240 sets the tempo
manually for this individual effect.
Time Over?> [---, OVER!]
The maximum delay time is 1,360msec. If the combination
of BPM, Base Note, and Times exceeds this limit, the error
message ā€œOVER!ā€ will appear. If this occurs, change the
delay time parameters so that this message no longer
appears.
Mode [Normal, Cross Feedback,
Cross Pan1, Cross Pan2]
Switches the left and right delay routing. For more
information, see ā€œModeā€ on page 835.
Tap 1 Base Note [ … ī˜„ ]
This sets the basic length of the Tap 1, relative to the BPM
setting. The values range from a 32nd note to a whole note,
including triplets.
Times [x1…x32]
This multiplies the length of the Base Note. For instance, if
the Base Note is set to a sixteenth note, and Times is set to 3,
the delay length will be a dotted eighth note.
Tap 2 Base Note [ … ī˜„ ]
This sets the basic length of Tap 2, relative to the BPM
setting.
Times [x1…x32]
This multiplies the length of Tap 2’s Base Note.
Feedback (Tap2) [+/–100]
Sets the Tap 2 feedback amount.
Source [Off…Tempo]
Selects the modulation source of the Tap 2 feedback amount.
Amount [+/–100]
Sets the modulation amount of the Tap 2 feedback amount.
Tap1 Level [0…100]
Sets the Tap1 output level. For more information, see ā€œTap1
Levelā€ on page 836.
High Damp [%] [0…100]
Sets the amount of high-frequency attenuation.
Low Damp [%] [0…100]
Sets the amount of low-frequency attenuation.
Spread [+/–100]
Sets the width of the stereo image of the effect sound. For
more information, see ā€œSpreadā€ on page 833.
Source [Off…Tempo]
Selects the modulation source of the effect sound’s stereo
image width.
Amount [+/–100]
Sets the modulation amount of the effect sound’s stereo
image width.
OUTPUT
This is the standard effects output section, with modulatable
control over wet/dry balance. For more information, see
ā€œOUTPUTā€ on page 762.
Tempo
BPM
BPM
Base Note x Times
Base Note x Times
Left
Right
Feedback
Spread
Wet / Dry
Wet / Dry
Stereo In - Stereo Out
Input Level D-mod
Input Level D-mod
High Damp
Low Damp
High Damp
Low Damp
Delay
Delay
Feedback
Tap1 Level
Mode
Mode
(1)
(2)
(1)
(2)
Tap1=(1)
Tap2=(2)

Table of Contents

Other manuals for Korg NAUTILUS Series

Related product manuals