EasyManua.ls Logo

R&S ZNB - Parallel Transmission Impedance; Shunt-thru Measurements

R&S ZNB
1496 pages
To Next Page IconTo Next Page
To Next Page IconTo Next Page
To Previous Page IconTo Previous Page
To Previous Page IconTo Previous Page
Loading...
Concepts and Features
R&S
®
ZNB/ZNBT
121User Manual 1173.9163.02 ─ 55
Table 5-5: Calculation of Converted Series Transmission Impedances
Traveling Waves Power Waves
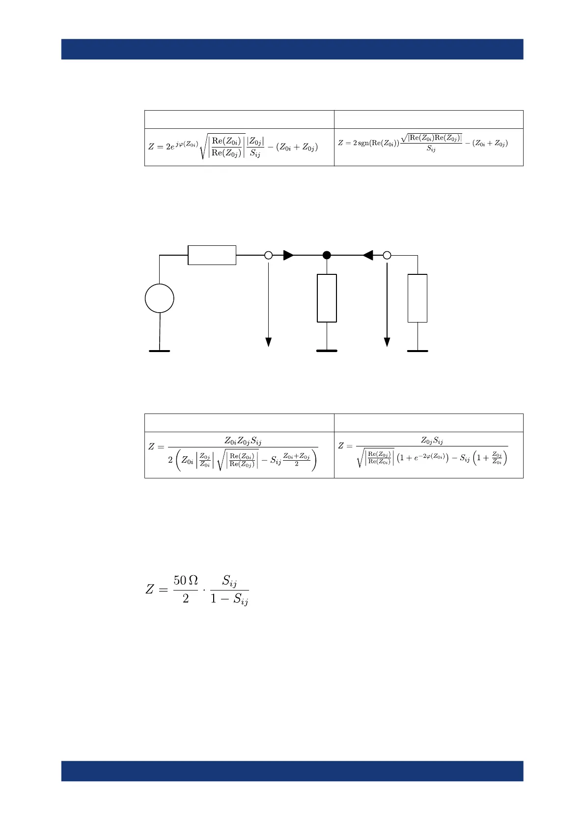
Parallel Transmission Impedance
A two-port transmission parameter Z
ij
(i ≠ j) can also describe a parallel impedance
between the two ports.
U
0
I
1
I
2
U
1
U
2
U
0
Z
0j
Z
ij
Z
0i
The calculation formula of a converted parallel transmission impedance Z
ij
depends on
the waveguide circuit theory according to which Reference Impedances are calculated.
Table 5-6: Calculation of Converted Parallel Transmission Impedances
Traveling Waves Power Waves
Shunt-thru Measurements
The shunt-thru method is used for measuring very low impedances. A typical applica-
tion are measurements on power distribution network (PDN) components, such as
bypass capacitors and DC-DC converters.
The R&S ZNB/ZNBT uses S
ij
(i≠j) to calculate the DUT impedance using the formula:
Measurement Results

Table of Contents

Related product manuals