EasyManua.ls Logo

MacDon M205 - Cleaning Air Conditioning (A;C) Evaporator Core

MacDon M205
514 pages
Print Icon
To Next Page IconTo Next Page
To Next Page IconTo Next Page
To Previous Page IconTo Previous Page
To Previous Page IconTo Previous Page
Loading...
214603 308 Revision A
Cleaning Air Conditioning (A/C) Evaporator Core
WARNING
To avoid cuts from evaporator fins, do NOT use bare hands to brush away clogs.
1008601
B
B
A
A
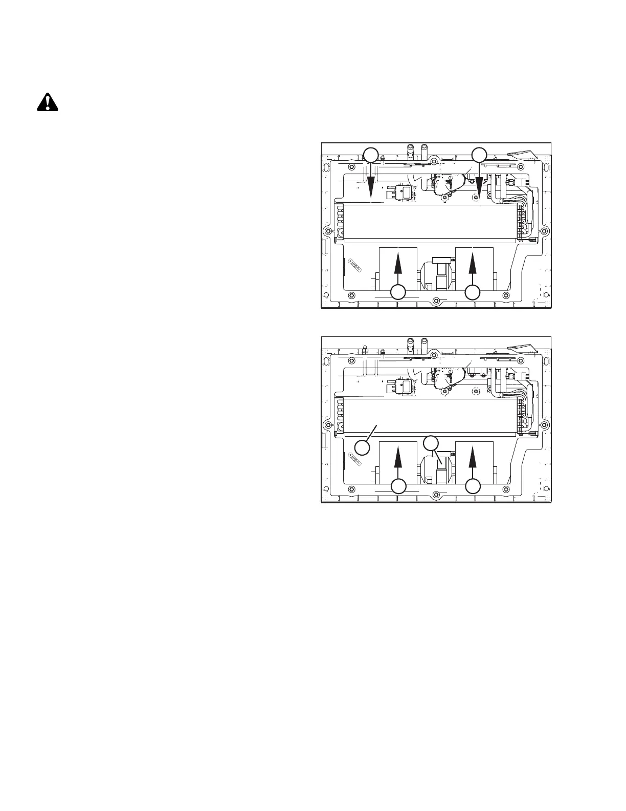
Figure 5.39: Evaporator Core (2015 and Later)
1. Use a vacuum cleaner or compressed air to remove dirt
from inside the A/C unit.
2. Blow compressed air through the evaporator fins from
blower side (A) first. Direct the air straight into the
evaporator to prevent fin damage. A nozzle extension
makes this procedure easier.
3. Repeat Step 2, page 308 at the side (B) opposite the
blowers.
1009960
A
B
C
C
Figure 5.40: Evaporator Core (2015 and Later)
4. If you cannot feel the compressed air blowing through
the evaporator core, proceed as follows:
a. Protect blower motor (A) from water.
b. Soak evaporator core (B) with warm water using a
low pressure hose. Let soak for several minutes.
c. Blow compressed air through the core from blower
side (C).
d. Repeat the soaking procedure until air blows
through the evaporator freely.
MAINTENANCE AND SERVICING

Table of Contents

Other manuals for MacDon M205

Related product manuals