EasyManua.ls Logo

Hioki 8841 - Start and Stop Operation (REC&MEM)

Hioki 8841
494 pages
Print Icon
To Next Page IconTo Next Page
To Next Page IconTo Next Page
To Previous Page IconTo Previous Page
To Previous Page IconTo Previous Page
Loading...
118
────────────────────────────────────────────────────
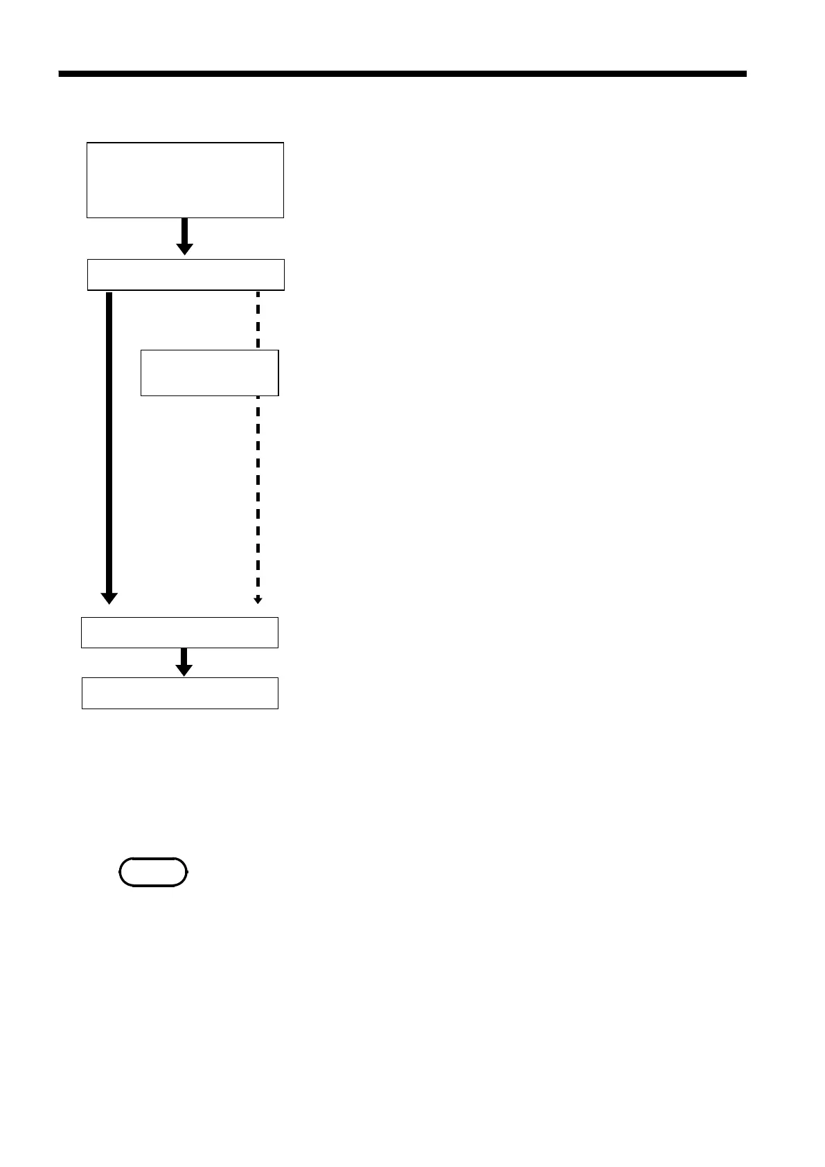
7.5 Start and Stop Operation (REC&MEM)
────────────────────────────────────────────────────
Setting the 8841/42
STATUS Settings
Channel Settings
Trigger Settings
Measurement start
Recording end
Trigger mode SINGLE
REPEAT
TIMER
Measurement end
Recorder
waveform
Memory
waveform
Trigger condition
are met
NOTE
7.5 Start and Stop Operation (REC&MEM)
See Section 7.3, "STATUS Settings", Chapter 9, "Input Channel
Settings", Chapter 10, "Trigger Functions."
Press the START key and LED light.
Setting the trigger to Timer causes a delay until the set time.
Displays "Storing" during storing the recorder waveform.
When the printer is enabled, the recording waveform is printed
at the same time it is displayed.
Using the VIEW key to display the time (from measurement
started time).
Data recording starts when trigger condition of memory
waveform is met.
When Pre-Trigger is enabled during waveform storage, if the
trigger conditions are met before the trigger point, data
collection begins at that time.
When automatic storage is enabled and measurement is
interrupted in progress, measurement data taken prior to the
interruption point is stored automatically.
Auto save is executed.
End of measurement
Starts measurement again.
Waveform data stored in memory blocks is cleared. Automatic
storage is not performed.
Measurement is repeated at the set time interval until the
specified stop time.
A stored waveform read by the Recorder & Memory function can be subjected
to waveform processing by the Memory function, but doing so erases the
Recorder waveform.
During storing the waveform data, the following message is displayed:
"MEMORY WAVE WAIT TRIG": Waiting for trigger
"MEMORY WAVE STORING": Storing memory waveform
"MEMORY WAVE STORE END": End of storing memory waveform
When using the sequential save function:
"MEMORY WAVE XXX/000": Displays stored block
(XXX: the last stored block, 000: number of memory divisions)

Table of Contents

Related product manuals