EasyManua.ls Logo

Hioki 8841 - Waveform GO;NG Evaluation (MEM, FFT)

Hioki 8841
494 pages
Print Icon
To Next Page IconTo Next Page
To Next Page IconTo Next Page
To Previous Page IconTo Previous Page
To Previous Page IconTo Previous Page
Loading...
372
────────────────────────────────────────────────────
16.3 Waveform GO/NG Evaluation (MEM, FFT)
────────────────────────────────────────────────────
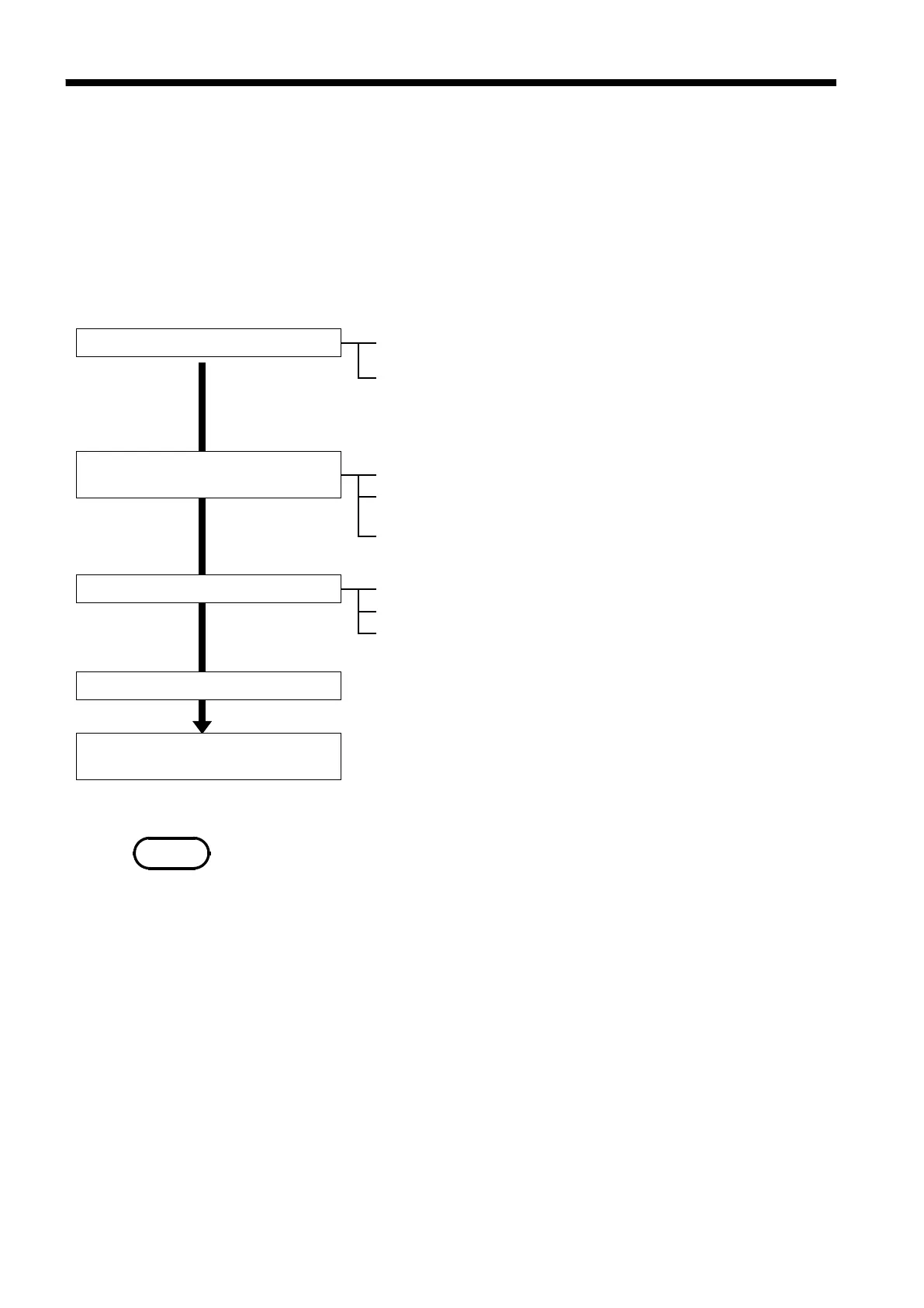
Setting the GO/NG stop mode
Setting the evaluation area
Executing waveform GO/NG
evaluation
Setting the waveform evaluation
mode
Measurement starts
Loading Load the created evaluation area and settings.
Use the FILE screen.
Creating Create the evaluation area by using the eight types
new area of commands.
Store the evaluation area in memory, and after that,
store the data on the media on the FILE screen.
OFF Disable waveform evaluation.
OUT Return NG if any part of the waveform leaves the
evaluation area.
ALL-OUT Return NG if the entire waveform leaves the
evaluation area.
GO Stop recording on GO result.
NG Stop recording on NG result.
GO&NG Stop recording on GO or NG result.
Pressing the START key starts measurement.
Data acquisition starts when the trigger conditions are met.
When the input waveform meets the stop conditions, signals
are output from the GO and NG terminals.
Auto-print and auto-save are also set.
When sequential save is used in memory function,
measurement data is recorded to the blocks.
NOTE
16.3 Waveform GO/NG Evaluation (MEM, FFT)
The waveform evaluation function can be used from the Memory recorder
(single screen, X-Y single screen), FFT (single screen, Nyquist screen).
GO (pass) or NG (fail) evaluation of the input signal waveform can be
performed using an evaluation area specified by the user.
This can serve to detect irregular waveforms.
Depend on evaluation result, GO and NG terminal output the signal.
Displaying all channels can be used for GO/NG evaluation.
Trigger mode: SINGLE
Measurement continues until stop mode conditions are fulfilled and then
stops.
Trigger mode REPEAT, AUTO
Recording and waveform evaluation is carried out continuously. Press the
STOP key to terminate the measurement.
When "auto print" is set to ON, the waveform is printed out when operation
stops.
When "auto save" is set to ON, data are stored on media when operation
stops.
When memory segmentation (sequential save) is ON, data are stored in the
memory block only when operation stops.
Waveform evaluation consists of two actions, namely capturing data and
performing the evaluation. These two actions are carried out in sequence, not
simultaneously. "Processing time" is needed for the FFT case.
Therefore data are not captured while the evaluation is in progress, which
means that the input signal is not being continuously monitored. The time
required for evaluation is on the order of 20 ms.

Table of Contents

Related product manuals