EasyManua.ls Logo

Hioki 8841 - Using the Sequential Save Function

Hioki 8841
494 pages
Print Icon
To Next Page IconTo Next Page
To Next Page IconTo Next Page
To Previous Page IconTo Previous Page
To Previous Page IconTo Previous Page
Loading...
344
────────────────────────────────────────────────────
15.1 Using the Sequential Save Function
────────────────────────────────────────────────────








Recordin
g
len
g
th
Brief
p
henomena ma
y
not re
g
ister
Recordin
g
len
g
th Recordin
g
len
g
th
Recordin
g
len
g
th
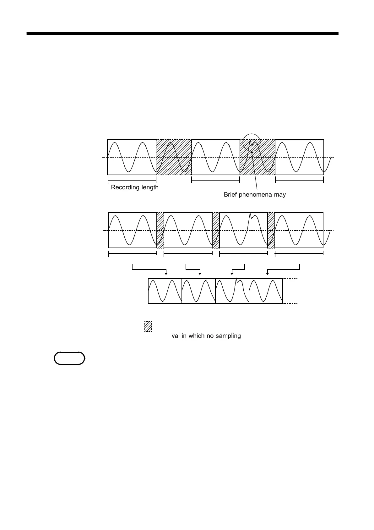
Data are divided into blocks and recorded in memory.






・・
Dead time: approx. 5 ms min.
(interval in which no sampling occurs due to display
and
p
rint
p
rocessin
g)
Recordin
g
len
g
th Recordin
g
len
g
th Recordin
g
len
g
th
NOTE
15.1 Using the Sequential Save Function
Input signal capture is carried out continuously using the trigger, storing
waveform data successively in each block. Any block in which an input
signal is recorded can be called up on the display. During measurement,
displaying, printing, and saving cannot be carried out until the recording
data in all block is completed.
When continuous print (auto print) is being performed in REPEAT trigger
mode
Using sequential save
Down time during which no further data is sampled, in order to permit
display and recording after the acquired data is recorded to one block, is set
to about 15 ms when the view function is enabled by the memory recorder
function, and to about 4 ms when the view function is disabled.
The Recorder & Memory function is active within the range of [2.5 ms + the
recorder sampling cycle (1/100 of the time axis range)] to [2.5 ms + the
recorder sampling cycle × 2].
While the sequential save function is being used, the waveform processing
calculation and averaging functions are disabled.
While the roll mode is being used in memory recorder function, the
sequential save function in the status is disabled.

Table of Contents

Related product manuals