EasyManua.ls Logo

Doosan DA40 - Fuel filter and water separation

Doosan DA40
945 pages
Print Icon
To Next Page IconTo Next Page
To Next Page IconTo Next Page
To Previous Page IconTo Previous Page
To Previous Page IconTo Previous Page
Loading...
SHOP MANUAL
Engine
Ch 1 page 20
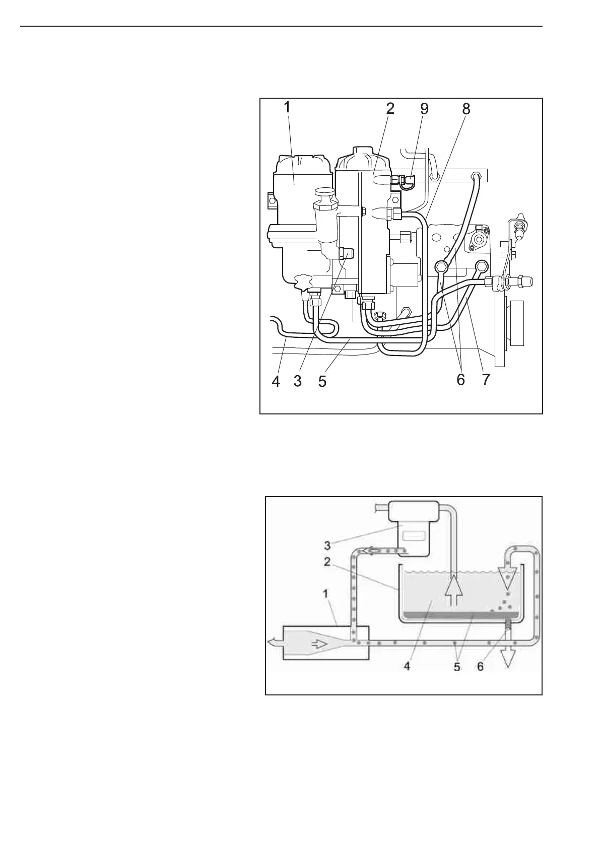
Water separation
The fuel system is sensitive to water. Water
must therefore be separated from the fuel.
Water is separated from the fuel in the water
separating suction filter and is collected in the
bottom of the fuel filter housing.
A proportion of the fuel from the pressure filter
is led back to the fuel tank, and on its way back
the fuel passes a venturi. The water is extract-
ed from the water separating suction filter by
means of the venturi and travels with the return
fuel.
The water is collected in the fuel tank and if
necessary the fuel tank should be drained of
water.
The fuel system has two fuel filters because
there are very high requirements on the
purity of the fuel. Both fuel filters are filter
elements.
Water separating suction filter
The feed pump draws fuel from the fuel tank
through the suction filter. A first filtering of
fuel and a separation of water takes place in
the suction filter.
Pressure filter
The pressure filter is located downstream of
the feed pump and performs a finer filtration
than the suction filter.
1 Water separating suction filter
2 Pressure filter
3 Inlet, fuel from the fuel tank
4 Fuel from the suction filter to the
control unit cooler
5 Recirculation to fuel tank
6 Recirculation from the high pressure
pump and injectors
7 Fuel from the pressure filter to the
high pressure pump
8 Fuel from the feed pump to the
pressure filter
9 Bleeder nipple
Fuel filter and water separation
Figure 30
Figure 31

Table of Contents