EasyManua.ls Logo

Avaya Definity SI - Page 1913

Avaya Definity SI
2968 pages
Print Icon
To Next Page IconTo Next Page
To Next Page IconTo Next Page
To Previous Page IconTo Previous Page
To Previous Page IconTo Previous Page
Loading...
MMI-PT
Issue 4 May 2002
10-1127555-233-123
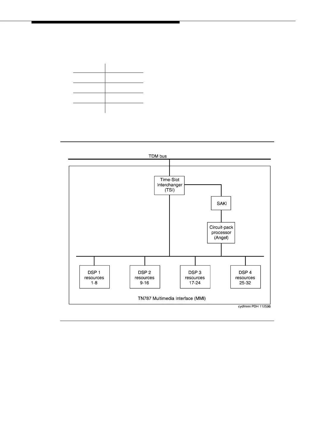
The MMI circuit pack contains 4 Digital Signal Processors (DSPs) which manage
the 32 resources. These resources are directly mapped to DSPs:
All 8 resources that the circuit pack controls may be placed out of service by the
failure of one of these DSPs.
Figure 10-74. TN787 Multimedia Interface (MMI) Circuit Pack
Resource Direct Map
1-8 DSP1
9-16 DSP2
17-24 DSP3
25-32 DSP4

Table of Contents

Related product manuals