EasyManua.ls Logo

IMC CANSAS - Page 370

IMC CANSAS
582 pages
Print Icon
To Next Page IconTo Next Page
To Next Page IconTo Next Page
To Previous Page IconTo Previous Page
To Previous Page IconTo Previous Page
Loading...
370 Properties of the Modules
imc CANSAS Users Manual - Doc. Version 1.9 - 05.12.2014© 2014 imc Meßsysteme GmbH
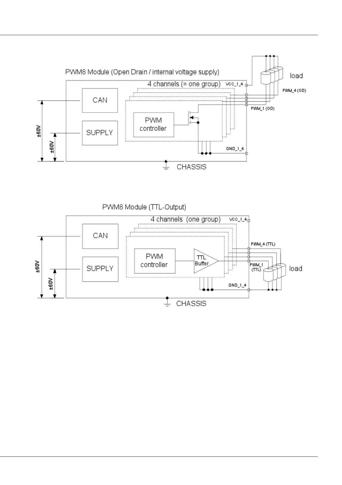
Outputs configured as Open drain with internal voltage supply
Outputs configured as TTL

Table of Contents

Other manuals for IMC CANSAS