EasyManua.ls Logo

Schweitzer Engineering Laboratories SEL-751 - Table; Figure 4.27 Zero-Sequence Voltage-Polarized Directional Element

Schweitzer Engineering Laboratories SEL-751
934 pages
Print Icon
To Next Page IconTo Next Page
To Next Page IconTo Next Page
To Previous Page IconTo Previous Page
To Previous Page IconTo Previous Page
Loading...
4.40
SEL-751 Relay Instruction Manual Date Code 20170927
Protection and Logic Functions
Group Settings (SET Command)
q From Table 4.20; w to Figure 4.32 and Figure 4.33; e from Figure 4.24.
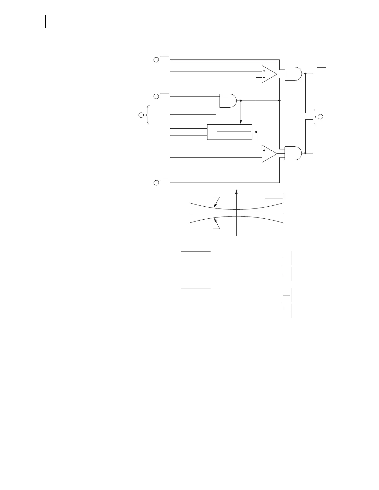
Figure 4.27 Zero-Sequence Voltage-Polarized Directional Element
The 3V0 input to Figure 4.27 may be either a calculated value (when
VSCONN := VS and DELTA_Y := WYE) or a measured value (when
VSCONN := 3V0). See Zero-Sequence Voltage Sources on page 4.33.
I
0
V
0
If Z0F Setting > 0, Forward Threshold = 1.25 • Z0F — 0.25 •
I
0
V
0
If Z0F Setting 0, Forward Threshold = 0.75 • Z0F — 0.25 •
Forward Threshold:
I
0
V
0
If Z0R Setting < 0, Reverse Threshold = 1.25 • Z0R + 0.25 •
I
0
V
0
If Z0R Setting 0, Reverse Threshold = 0.75 • Z0R + 0.25 •
Reverse Threshold:
Direction Element Characteristics
R0
X0
Forward Threshold
Reverse Threshold
Z0 PLANE
RDIRV
(Reverse)
FDIRV
(Forward)
Best Choice
Ground
Directional
Logic
50GF
Enable
Forward
Threshold
DIRVE
Reverse
Threshold
50GR
Re[3V
0
•(I
G
•1Z0MTA)*]
|I
G
|
2
Z0 =
I
G
3V
0
Relay
Word
Bits
Relay
Word
Bit
Relay
Word
Bit
Relay
Word
Bit
choice that is asserted
(I
G
= 3I
0
)
(Residual)
DIRVE is highest
3
3
3
1
2

Table of Contents

Related product manuals