EasyManua.ls Logo

Schweitzer Engineering Laboratories SEL-751 - Figure 4.29 Zero-Sequence Voltage-Polarized Directional Element (Low-Impedance Grounded Systems)

Schweitzer Engineering Laboratories SEL-751
934 pages
Print Icon
To Next Page IconTo Next Page
To Next Page IconTo Next Page
To Previous Page IconTo Previous Page
To Previous Page IconTo Previous Page
Loading...
4.42
SEL-751 Relay Instruction Manual Date Code 20170927
Protection and Logic Functions
Group Settings (SET Command)
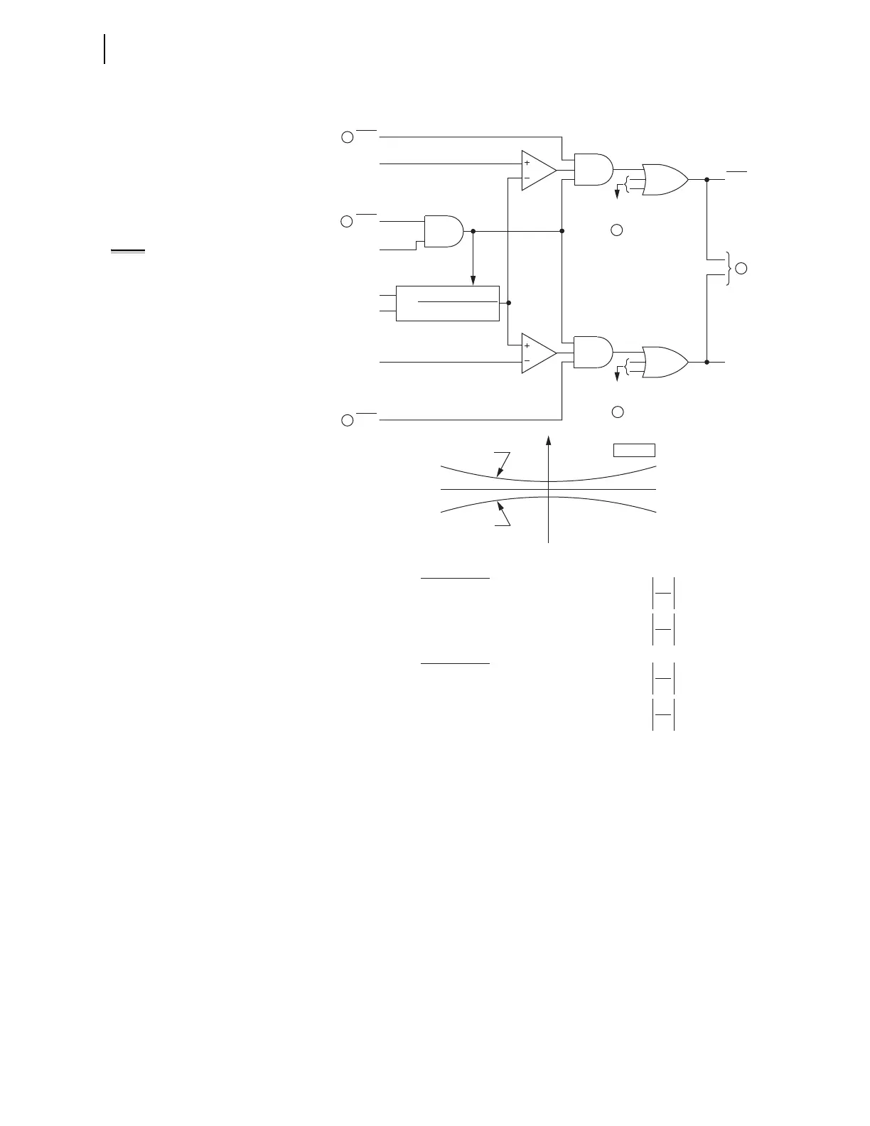
q From Figure 4.30 and Figure 4.31; w to Figure 4.32 and Figure 4.33;
e from Figure 4.25.
Figure 4.29 Zero-Sequence Voltage-Polarized Directional Element (Low-
Impedance Grounded Systems)
The 3V0 input to Figure 4.29 may be either a calculated value (when
VSCONN := VS and DELTA_Y := WYE) or a measured value (when
VSCONN := 3V0). See Zero-Sequence Voltage Sources on page 4.33.
I
N
3V
0
If Z0F Setting > 0, Forward Threshold = 1.25 • Z0F — 0.25 •
I
N
3V
0
If Z0F Setting 0, Forward Threshold = 0.75 • Z0F — 0.25 •
Forward Threshold:
I
N
3V
0
If Z0R Setting < 0, Reverse Threshold = 1.25 • Z0R + 0.25 •
I
N
3V
0
If Z0R Setting 0, Reverse Threshold = 0.75 • Z0R + 0.25 •
Reverse Threshold:
Direction Element Characteristics
R0
X0
Forward Threshold
Reverse Threshold
Z0 PLANE
RDIRN
FDIRN
Forward
Reverse
"S" listed in
setting ORDER
50NF
Enable
Forward
Threshold
DIRNE
Reverse
Threshold
50NR
Re[3V
0
•(I
N
•1Z0MTA)*]
|I
N
|
2
Z0 =
I
N
3V
0
Relay
Word
Bits
Relay
Word
Bit
Relay
Word
Bit
Relay
Word
Bit
"Forward"
Outputs
"Reverse"
Outputs
1
1
2
3
3
3
NOTE: Residual ground current I
G
is
used in place of neutral current I
N
under certain conditions. See Switch
Between I
N
and I
G
for Low-Impedance
Grounded and Ungrounded/High-
Impedance Grounded Systems on
page 4.31

Table of Contents

Related product manuals