EasyManua.ls Logo

Boeing 707 - Page 277

Boeing 707
1020 pages
Print Icon
To Next Page IconTo Next Page
To Next Page IconTo Next Page
To Previous Page IconTo Previous Page
To Previous Page IconTo Previous Page
Loading...
(12) Slowly push the sleeve until the center of the sleeve is aligned with the center of the butt splice.
(13) Apply pressure with the fingers to the sleeve to push the air bubbles out.
(14) Assemble a lacing tape wire harness tie on each end of the splice assembly approximately 0.25
inch from the end of the sleeve.
Refer to:
Subject 20-10-11 for the procedure to assemble a wire harness tie
Figure 48 for the position of the wire harness ties.
Make sure that the Temperature Grade of the lacing tape is Temperature Grade B or higher.
2448044 S00061545470_V1
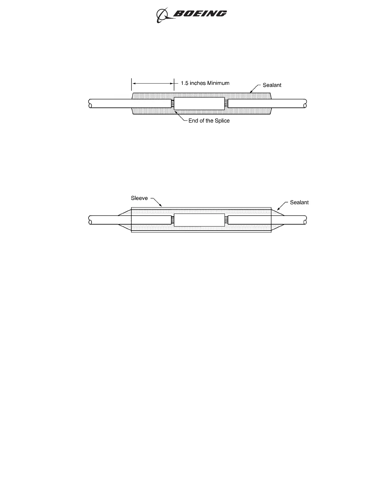
CONFIGURATION OF THE SEALANT ON THE SPLICE
Figure 46
2448046 S00061545471_V1
POSITION OF THE SLEEVE ON THE SEALANT
Figure 47
ASSEMBLY OF SPLICES
707, 727-787
STANDARD WIRING PRACTICES MANUAL
20-30-12
Page 87
Feb 15/2021D6-54446
ECCN 9E991 BOEING PROPRIETARY - See title page for details

Table of Contents

Related product manuals