EasyManua.ls Logo

Boeing 707 - Installation of a Terminal on a Circuit Breaker

Boeing 707
1020 pages
Print Icon
To Next Page IconTo Next Page
To Next Page IconTo Next Page
To Previous Page IconTo Previous Page
To Previous Page IconTo Previous Page
Loading...
E. Installation of a Terminal on a Circuit Breaker
Refer to Figure 7.
NOTE: When a terminal, with a hole that is larger than the hole of the circuit breaker terminal, is
attached to a circuit breaker:
An AN960 pressure washer is installed between the terminal and the lock washer
The AN960 pressure washer has a hole that is the same size as the hole of the circuit
breaker terminal; for example, an AN960-8 pressure washer is used when a size 10 terminal
is attached to size 8 circuit breaker terminal.
2445789 S00061545368_V1
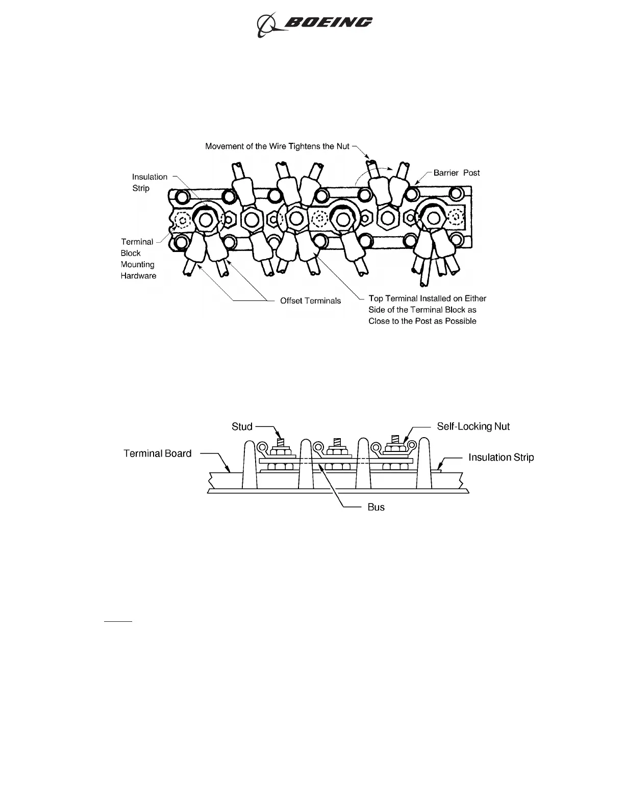
CONFIGURATION OF TERMINALS ON AN MS27212 TERMINAL BLOCK
Figure 5
2445790 S00061545369_V1
BUS CONFIGURATION OF A TERMINAL BOARD
Figure 6
ELECTRICAL CONNECTION OF EQUIPMENT AND INSTALLATION OF TERMINAL LUGS
707, 727-787
STANDARD WIRING PRACTICES MANUAL
20-30-00
Page 8
Oct 15/2015D6-54446
ECCN 9E991 BOEING PROPRIETARY - See title page for details

Table of Contents

Related product manuals