EasyManua.ls Logo

Boeing 707 - Page 294

Boeing 707
1020 pages
Print Icon
To Next Page IconTo Next Page
To Next Page IconTo Next Page
To Previous Page IconTo Previous Page
To Previous Page IconTo Previous Page
Loading...
(e) Crimp the splice.
(9) Do Step 7.H.(8) again to assemble the other end of the butt splice.
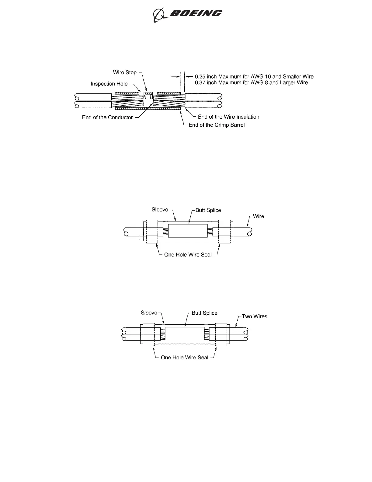
(10) Align the center of the sleeve with the center of the butt splice. Refer to Figure 71 and Figure 72.
(11) Shrink the sleeve into position. Refer to Subject 20-10-14.
Make sure that the seal material that comes out of the ends of the sleeve does not have rough
edges.
2447116 S00061545484_V1
POSITION OF TWO WIRES IN THE BUTT SPLICE
Figure 70
2447114 S00061545482_V1
POSITION OF THE SLEEVE ON ONE WIRE
Figure 71
2447115 S00061545483_V1
POSITION OF THE SLEEVE ON TWO WIRES
Figure 72
ASSEMBLY OF SPLICES
707, 727-787
STANDARD WIRING PRACTICES MANUAL
20-30-12
Page 104
Feb 15/2021D6-54446
ECCN 9E991 BOEING PROPRIETARY - See title page for details

Table of Contents

Related product manuals