EasyManua.ls Logo

NXP Semiconductors KL25 Series - Freescale Semiconductor, Inc

NXP Semiconductors KL25 Series
807 pages
To Next Page IconTo Next Page
To Next Page IconTo Next Page
To Previous Page IconTo Previous Page
To Previous Page IconTo Previous Page
Loading...
pulse width
counter overflow
timer module counter =
MOD
period
(2 x CnV)
(2 x MOD)
timer module counter = 0
channel (n) match
(timer module counting
is down)
channel (n) match
(timer module counting
is up)
counter overflow
timer module counter =
MOD
channel (n) output
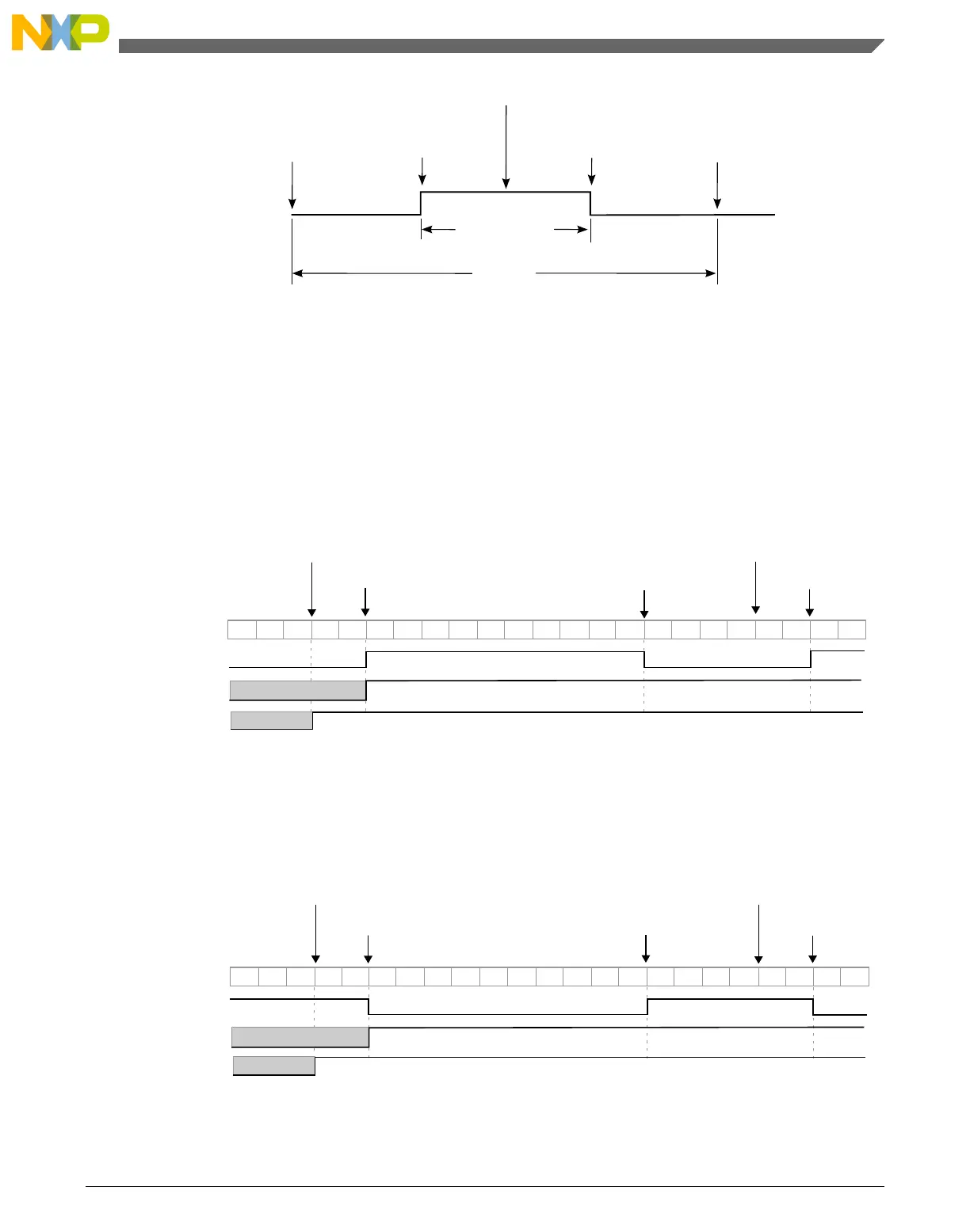
Figure 31-88. CPWM period and pulse width with ELSnB:ELSnA = 1:0
If (ELSnB:ELSnA = 0:0) when the TPM counter reaches the value in the CnV register,
the CHnF bit is set and the channel (n) interrupt is generated (if CHnIE = 1), however the
channel (n) output is not controlled by TPM.
If (ELSnB:ELSnA = 1:0), then the channel (n) output is forced high at the channel (n)
match (TPM counter = CnV) when counting down, and it is forced low at the channel (n)
match when counting up (see the following figure).
TOF bit
...
7
8 8
7 7 7
6 6 6
5 5 54 43 3
2 21
0
1
...
previous value
CNT
channel (n) output
counter
overflow
channel (n) match in
down counting
channel (n) match in
up counting
channel (n) match in
down counting
counter
overflow
CHnF bit
MOD = 0x0008
CnV = 0x0005
Figure 31-89. CPWM signal with ELSnB:ELSnA = 1:0
If (ELSnB:ELSnA = X:1), then the channel (n) output is forced low at the channel (n)
match (TPM counter = CnV) when counting down, and it is forced high at the channel (n)
match when counting up (see the following figure).
TOF bit
...
7
8 8
7 7 7
6 6 6
5 5 54 43 3
2 21
0
1
...
previous value
CNT
channel (n) output
counter
overflow
channel (n) match in
down counting
channel (n) match in
up counting
channel (n) match in
down counting
counter
overflow
CHnF bit
MOD = 0x0008
CnV = 0x0005
Figure 31-90. CPWM signal with ELSnB:ELSnA = X:1
Chapter 31 Timer/PWM Module (TPM)
KL25 Sub-Family Reference Manual, Rev. 3, September 2012
Freescale Semiconductor, Inc. 569

Table of Contents

Related product manuals