EasyManua.ls Logo

Cmsemicon CMS32L051 - Page 423

Default Icon
703 pages
Print Icon
To Next Page IconTo Next Page
To Next Page IconTo Next Page
To Previous Page IconTo Previous Page
To Previous Page IconTo Previous Page
Loading...
V1.2.2
CMS32L051 User Manual |Chapter 12 Universal Serial Communication Unit
www.mcu.com.cn 423 / 703
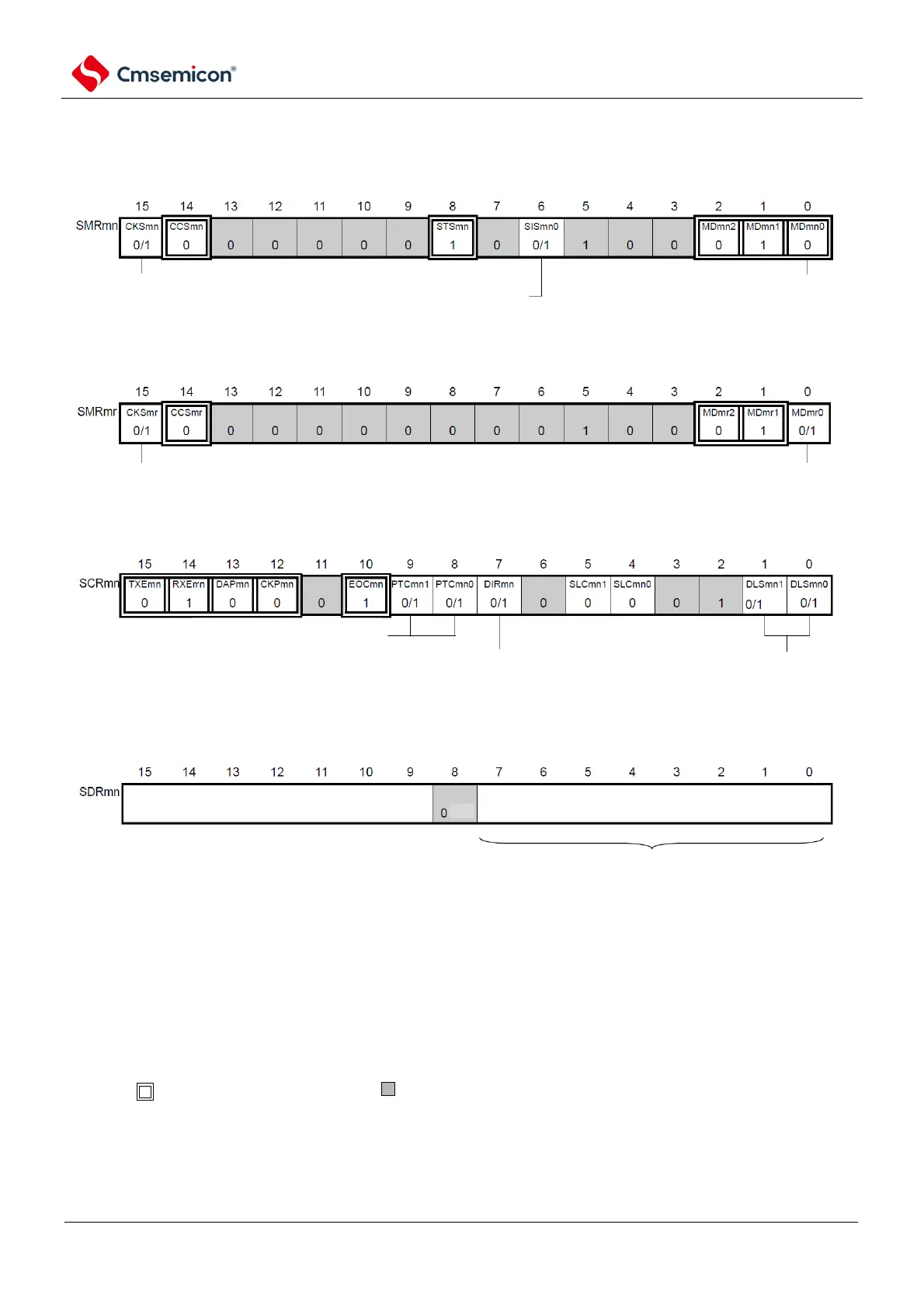
(1) Register setting
Figure 12-104 Example of register settings when UART is received by UART (UART0~UART2) (1/2)
(a) serial mode register mn (SMRmn)
channel n operational clock (fMCK)
0: SPSm register configured pre-scaler output clock CKm0
1: SPSm register configured pre-scaler output clock CKm1
channel r operational mode:
0: transmit completion interrupt
1: buffer empty interrupt
channel N operational mode:
0: transmit completion interrupt
0: normal receiving
1: inverted phase receiving
(b) serial mode register mr(SMRmr)
samd configuration as CKSmn bit
data transmit sequence selection
0: perform MSB first input/output
1: perform LSB first input/output
data length configuration
parity check bit configuration
00B: no parity check
01B: add zero parity
10B: add even parity
11B: add odd parity
(d) serial data regsiter mn (SDRmn) (low 8 bit:TXDq)
TXDq
(c) serial communication operation configuration register mn(SCRmn)
baud rate configuration received data register
Note2
Note1
Note 1 Limited to SCR01 registers, other fixed as 1.
2. When communicating with a length of 9 bits of data, bit0 to 8 of the SDRm1 register is the setting area for sending
data. Only UART0 can communicate with 9-bit data lengths.
Notice When the UART is received, the SMRmr register of channel r paired with channel n must also be set.
Note 1. m: unit number (m=0, 1) n: channel number (n=1, 3) mn=01, 03, 11.
r: Channel number (r=n1) q: UART number (q=0~2)
2. : Fixed in UART receive mode. : Cannot be set (initial value).
×: This is the bit that cannot be used in this mode (set the initial value if it is not used in other modes either).
0/1: Set 0 or 1 according to the user's purpose.

Table of Contents

Related product manuals