EasyManua.ls Logo

Korg HAVIAN 30 - Page 287

Korg HAVIAN 30
814 pages
To Next Page IconTo Next Page
To Next Page IconTo Next Page
To Previous Page IconTo Previous Page
To Previous Page IconTo Previous Page
Loading...
Step Recording a Song |283
Insert a chord made of notes with different velocity values
You can make the upper or lower note of a chord, for example, louder than
the remaining ones, to let the most important note stand out from the chord.
1 Edit the first note’s Velocity value.
2 Press the first note and keep it pressed.
3 Edit the second note’s Velocity value.
4 Press the second note and keep it pressed.
5 Edit the third note’s Velocity value.
6 Press the third note, then release all notes.
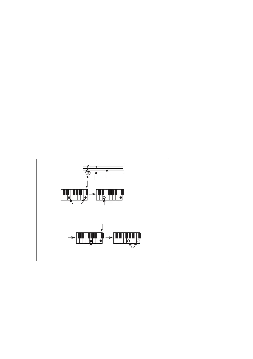
Insert a second voice
You can insert phrases where one note is kept pressed, while another voice
moves freely.
A few examples:
Step Time =
Step Time =
On
Press E and C
On
Press G
Off
Off
Release G and C
Release E (continue holding C)

Table of Contents

Other manuals for Korg HAVIAN 30

Related product manuals